EasyManua.ls Logo

HTC 500 - Machine Description; General Machine Description

HTC 500
52 pages
Print Icon
To Next Page IconTo Next Page
To Next Page IconTo Next Page
To Previous Page IconTo Previous Page
To Previous Page IconTo Previous Page
Loading...
17
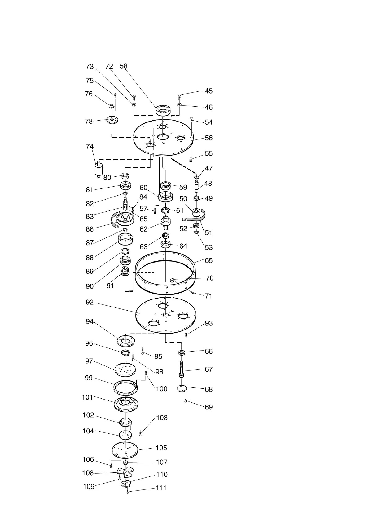
Exploded diagram HTC 800 (models built before year 2000)

Other manuals for HTC 500

Related product manuals