EasyManua.ls Logo

HygroMatik C01 KIT - Page 30

HygroMatik C01 KIT
58 pages
Print Icon
To Next Page IconTo Next Page
To Next Page IconTo Next Page
To Previous Page IconTo Previous Page
To Previous Page IconTo Previous Page
Loading...
Page 30
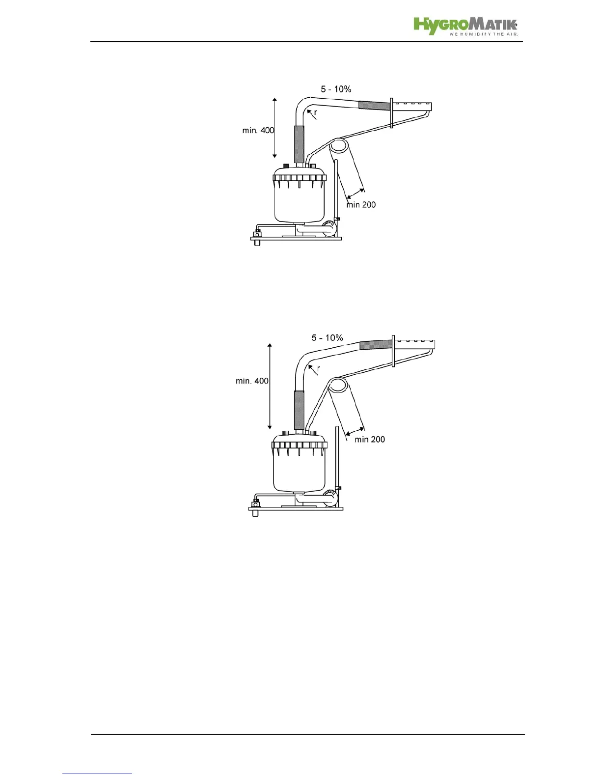
Steam hose with falling slope
Steam hose with rising slope
Steam manifold is positioned below the steam humidifier.
» Lay steam hose at a height of at least 400 mm and then
connect to the steam manifold with a constant fall.
» Lay condensate hose with a loop of 200 mm diameter
to the drain.

Related product manuals