EasyManua.ls Logo

Hytera HD705 - Usb; Figure 3-9 Diagram of MCBSP Connection; Figure 3-10 Diagram of USB Interface

Hytera HD705
513 pages
Print Icon
To Next Page IconTo Next Page
To Next Page IconTo Next Page
To Previous Page IconTo Previous Page
To Previous Page IconTo Previous Page
Loading...
Baseband Section Service Manual
12
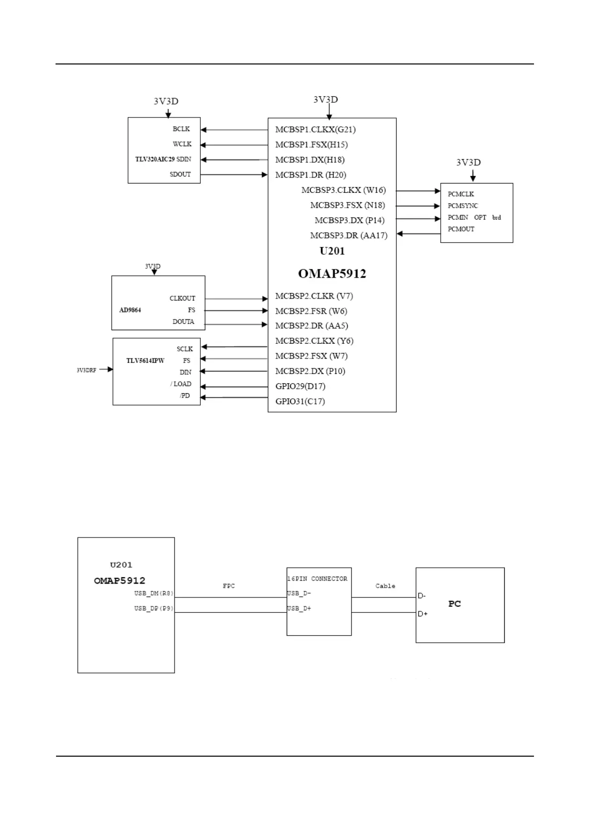
Figure 3-9 Diagram of MCBSP Connection
3.2.7 USB
OMAP5912 provides 3 USB interfaces. One interface integrates a USB transceiver, which is
connected to the accessory jack and is used for program downloading and data application.
Figure 3-10 Diagram of USB Interface

Table of Contents

Other manuals for Hytera HD705

Related product manuals