EasyManua.ls Logo

Hytera HD705 - Microwire; Mcsi1; Audio Section; Audio Diagram

Hytera HD705
513 pages
Print Icon
To Next Page IconTo Next Page
To Next Page IconTo Next Page
To Previous Page IconTo Previous Page
To Previous Page IconTo Previous Page
Loading...
Baseband Section Service Manual
14
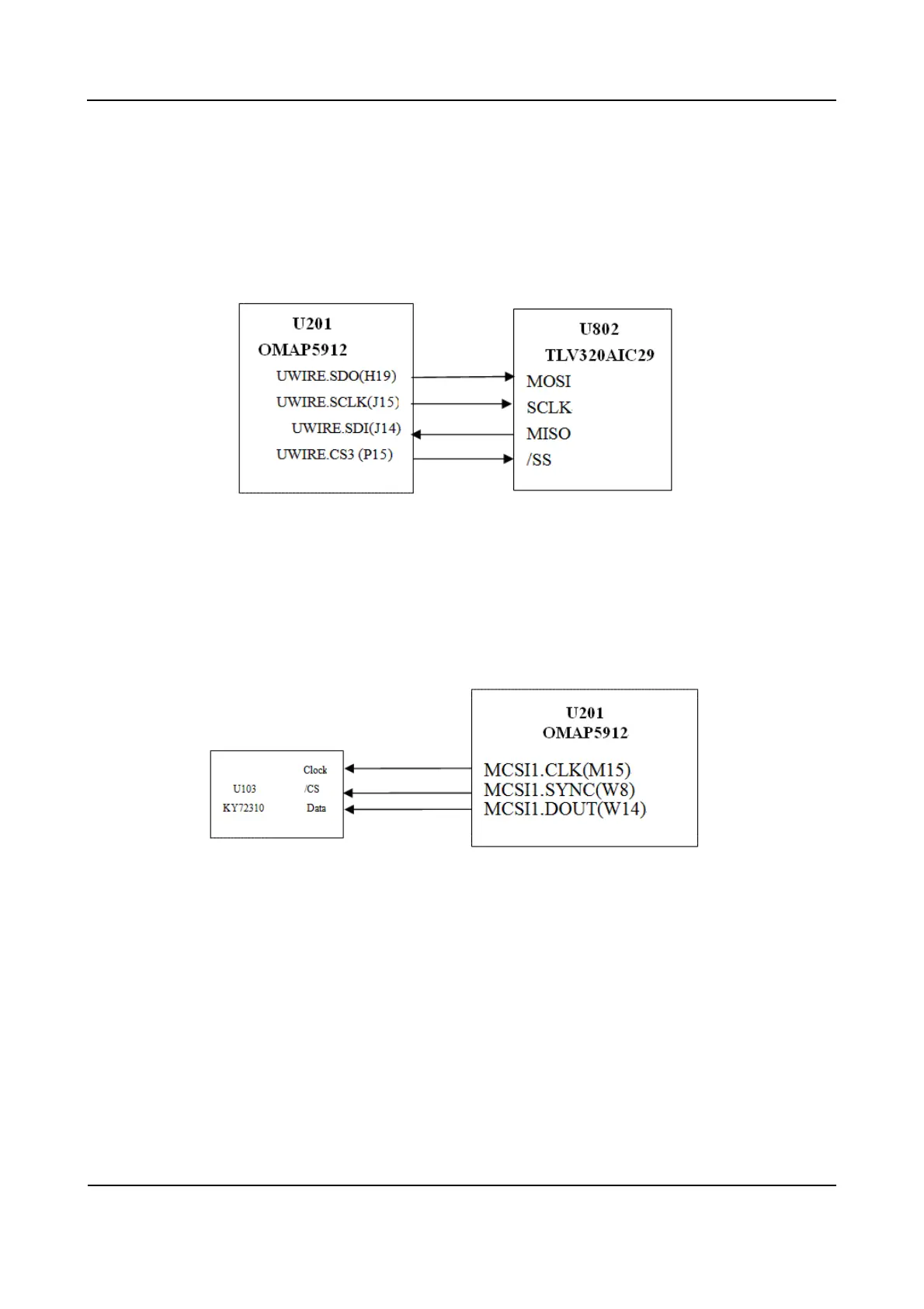
3.2.10 MICROWIRE
OMAP5912 provides a MICROWIRE. The four chip select signals can drive four external components.
MICROWIRE is used to configure the audio codec and read the value of its register. It uses the chip
select signal 3. The connection is shown below.
Figure 3-13 Diagram of MICROWIRE Connection
3.2.11 MCSI1
OMAP5912 has two MCSI interfaces. MCSI1 is used for PLL configuration and data transmission. The
connection of MCSI1 is shown below.
Figure 3-14 Diagram of MCSI1 Connection
3.3 Audio Section
3.3.1
Audio Diagram
The audio module is mainly for audio input and output. TLV320AIC29 is used as the audio codec to
convert and process audio signal and digital signal. The audio amplifier TDA8547TS is used to amplify
the analog audio signal.
DSP processes digital signal (audio signal encoding/decoding, digital I/Q signal decoding, digital audio

Table of Contents

Other manuals for Hytera HD705

Related product manuals