EasyManua.ls Logo

Hyundai 20DT-7 - Page 49

Hyundai 20DT-7
240 pages
Print Icon
To Next Page IconTo Next Page
To Next Page IconTo Next Page
To Previous Page IconTo Previous Page
To Previous Page IconTo Previous Page
Loading...
3-7
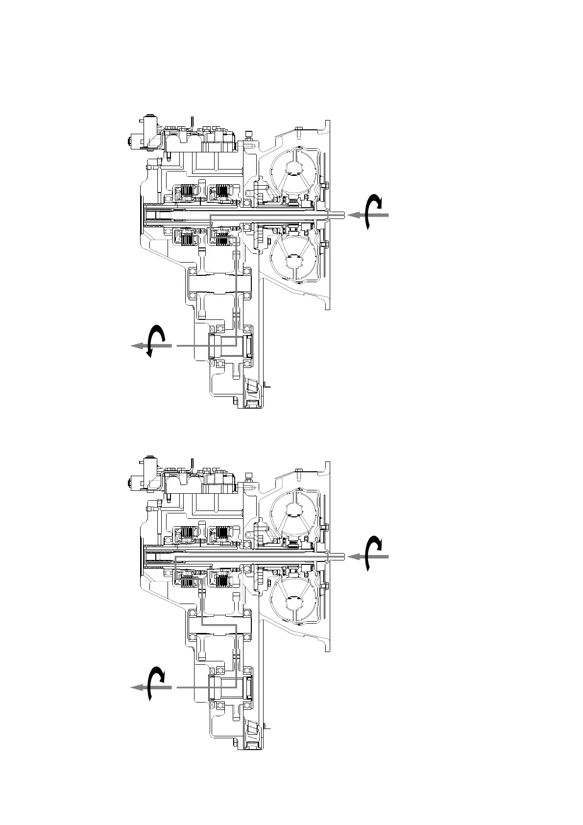
OPERATING MODES
OPERATING MODES
Forward
Forward
4)
4)
(1)
(1)
15L7APT29
15L7APT30
Reverse
Reverse
(2)
(2)
Input Torque converter Clutch shaft
Forward clutch gear Output gear
Output
Input
Torque converter Clutch shaft
Reverse clutch gear Output gear
Output

Related product manuals