EasyManua.ls Logo

IFM Electronic DA102S - Pulse Pick-Ups (Sensors); Feedback Contact

IFM Electronic DA102S
24 pages
Print Icon
To Next Page IconTo Next Page
To Next Page IconTo Next Page
To Previous Page IconTo Previous Page
To Previous Page IconTo Previous Page
Loading...
16
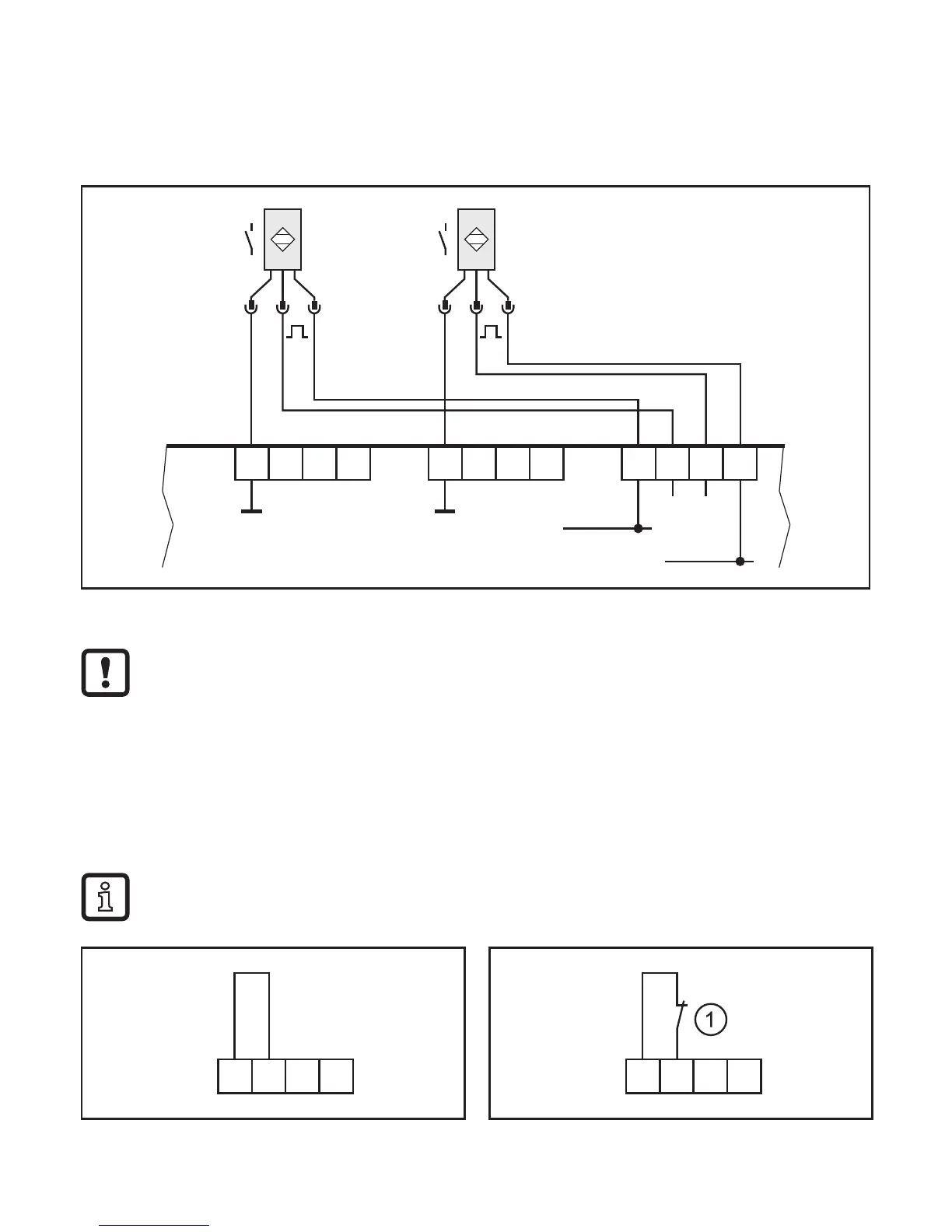
7.4 Pulse pick-ups (sensors)
Use pnp-switching sensors with the "normally open” function.
Connect the supply voltage of the sensors to the terminals S33 and S44.
Connect the mass of the sensors to the terminals L- and Y4.
E1 E2
Y5 Y6Y4A2 Y7
S34 S43S33
A3 S44
Y2L-A1 L+
24 V DC
24 V DC
L-
L+
L-
L+
1 2
Pulse pick-ups (sensors)
Observe the current consumption of the sensors.
Supply the sensors externally if the current consumption exceeds the
currentratingoftheterminalsS33andS44(→11Technicaldata).
7.5 Feedback contact
Connect the feedback contact to input A2 (Y4-Y5).
Observethecharacteristicdataoftheinput(→11Technicaldata).
If the monitoring function is not required, the terminals Y4-Y5 can be
permanently bridged.
Y5 Y6Y4A2 Y7 Y5 Y6Y4A2 Y7
Without monitoring with bridge 1: Feedback contact (normally closed )

Related product manuals