EasyManua.ls Logo

IMO Jaguar CUB - Page 38

IMO Jaguar CUB
170 pages
Print Icon
To Next Page IconTo Next Page
To Next Page IconTo Next Page
To Previous Page IconTo Previous Page
To Previous Page IconTo Previous Page
Loading...
2-17
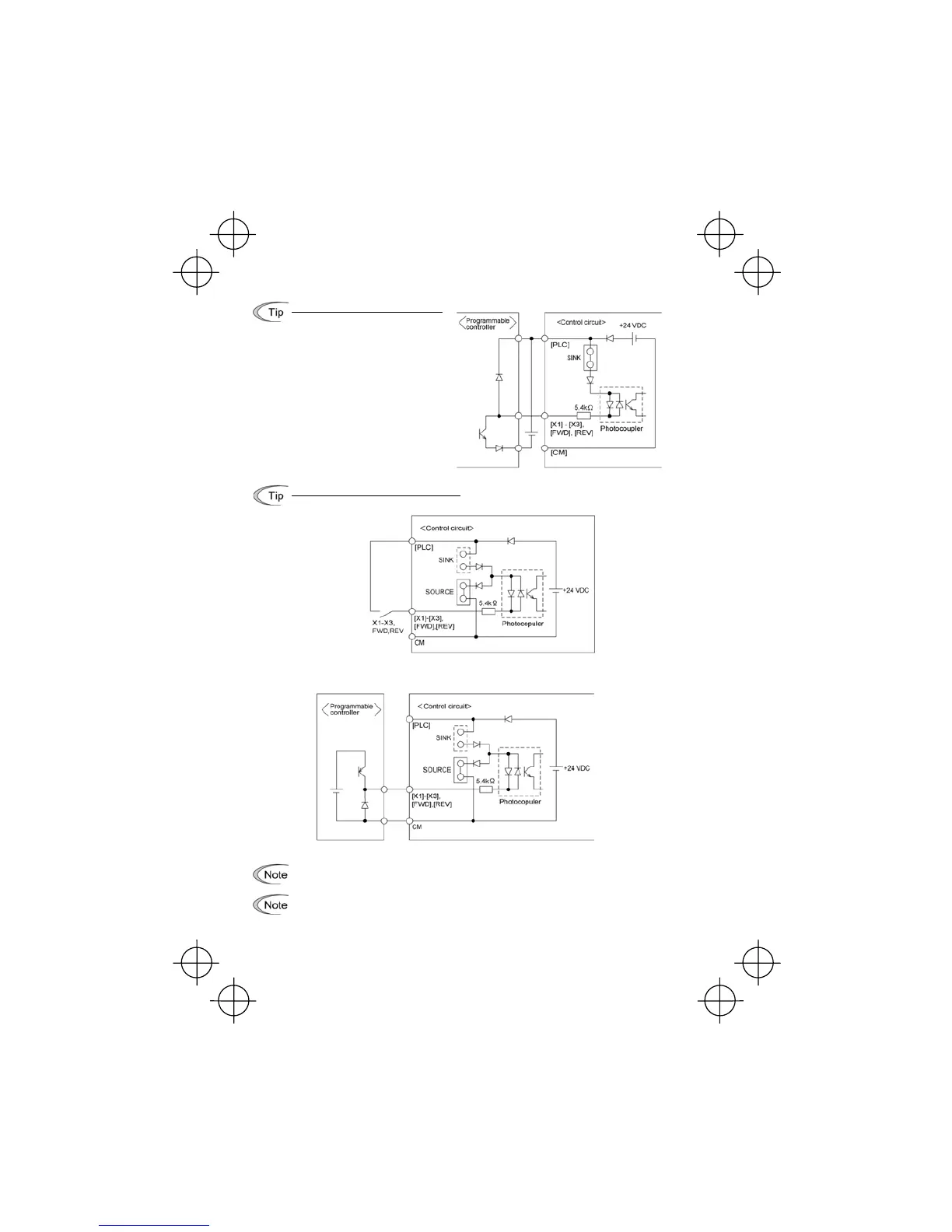
If the jumper switch is set at SINK
As shown in Figure 2.15, you can
turn digital input terminals [X1] to
[X3], [FWD], and [REV] on or off by
open collector transistor outputs if
you connect the power input (+) of
the external device such as a
programmable controller to termi-
nal [PLC] that supplies power to
the device.
To do so, switch the jumper to
SINK.
Figure 2.15 External Power Supply Connection
If the jumper switch is set at SOURCE
Connecting a relay to the inverter
Figure 2.16 (a) Relay Connection
Connecting a programmable controller to the inverter
Figure 2.16 (b) Programmable Controller Connection
Do not connect terminal [CM] of the inverter to a common terminal of a programmable
controller.
To turn terminals [X1] to [X3], [FWD], and [REV] on or off with relay contact input, use
reliable contacts free from poor contact.

Table of Contents

Related product manuals