EasyManua.ls Logo

Index V4 - Installation

Default Icon
30 pages
Print Icon
To Next Page IconTo Next Page
To Next Page IconTo Next Page
To Previous Page IconTo Previous Page
To Previous Page IconTo Previous Page
Loading...
3 Index V4 Embosser manual
© 2015 Index Braille
www.indexbraille.com
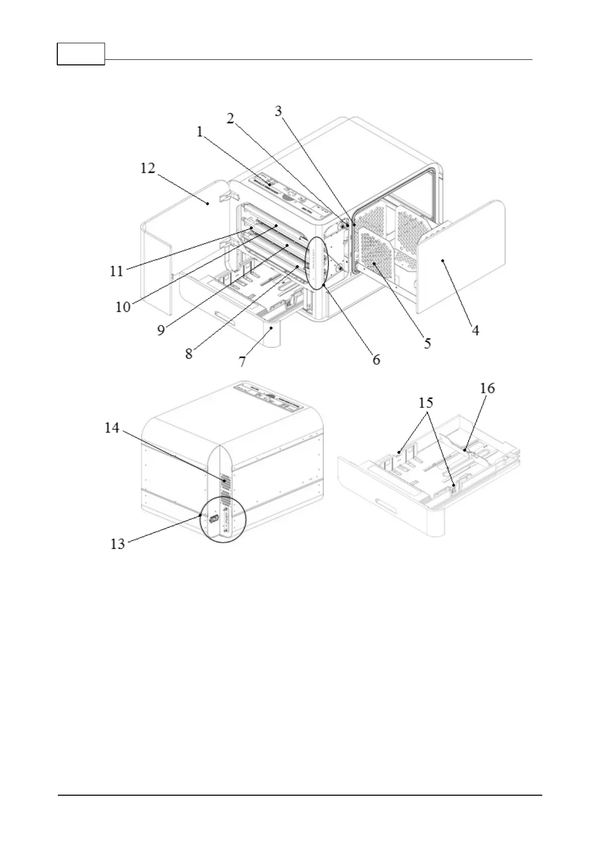
2.3 Braille Box
1. Control panel
2. Service door optical sensor
3. Braille tray optical sensor
4. Braille tray
5. Braille stack guide
6. LED indicators
7. Paper tray
8. Embosser head #1
9. Embosser head #2
10. Embosser head #3
11. Paper rollers (5 units)
12. Service door
13. Electrical connectors
14. Ventilation
15. Paper guides
16. Rear paper stop lever
3 Installation