EasyManua.ls Logo

INFOSEC E4 Value Series - Connection Warnings

INFOSEC E4 Value Series
Print Icon
To Next Page IconTo Next Page
To Next Page IconTo Next Page
To Previous Page IconTo Previous Page
To Previous Page IconTo Previous Page
Loading...
35
INFOSEC UPS SYSTEM 4 rue de la Rigotière 44700 Orvault France www.infosec-ups.com
Hot Line Tel : +33 (0)2 40 76 15 82 fax : +33(0)2 40 94 29 51 hotline@infosec.fr 03 16 AA 59 203 26
should be followed the qualified technician:
Remove watches, rings or other metal objects from your hands.
Use tools with insulated handles.
Disconnect the charging source prior to connecting or disconnecting battery terminals.
When replacing batteries, use the same type and number of sealed lead-acid batteries.
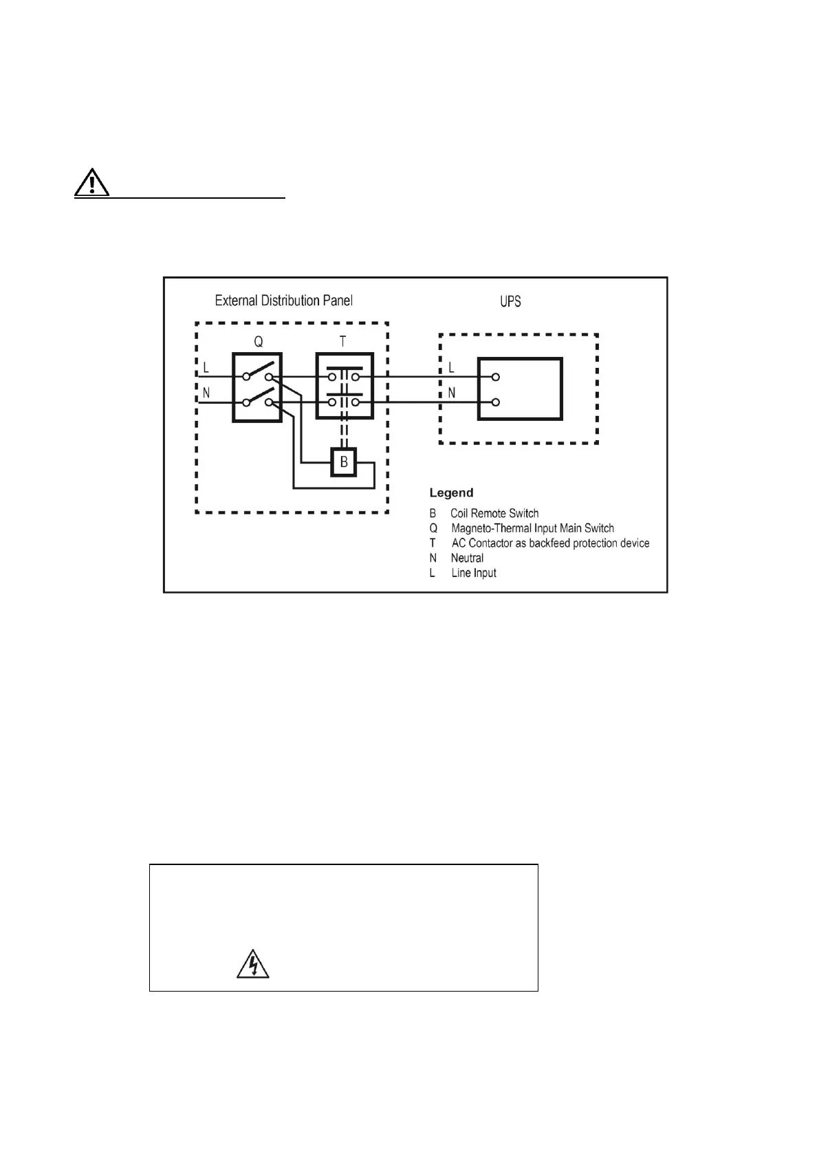
C o n n e c t i o n W a r n i n g s
There is no standard backfeed protection inside, please isolate the UPS before working according to this
circuit. The isolation device must be able to carry the UPS input current.
This UPS should be connected with TN earthing system.
The power supply for this unit must be single-phase rated in accordance with the equipment nameplate.
It also must be suitably grounded.
Use of this equipment in life support applications where failure of this equipment can reasonably be
expected to cause the failure of the life support equipment or to significantly affect its safety or
effectiveness is not recommended. Do not use this equipment in the presence of a flammable
anesthetic mixture with air, oxygen or nitrous oxide.
Connect your UPS power module’s grounding terminal to a grounding electrode conductor.
The UPS is connected to a DC energy source (battery). The output terminals may be live when the UPS
is not connected to an AC supply.
Before working on this circuit
- Isolate Uninterruptible Power System (UPS)
- Then check for Hazardous Voltage between all
terminals including the protective earth.
Risk of Voltage Backfeed

Related product manuals