EasyManua.ls Logo

INFOSEC E4 Value Series - Page 6

INFOSEC E4 Value Series
Print Icon
To Next Page IconTo Next Page
To Next Page IconTo Next Page
To Previous Page IconTo Previous Page
To Previous Page IconTo Previous Page
Loading...
5
INFOSEC UPS SYSTEM 4 rue de la Rigotière 44700 Orvault France www.infosec-ups.com
Hot Line Tel : +33 (0)2 40 76 15 82 fax : +33(0)2 40 94 29 51 hotline@infosec.fr 03 16 AA 59 203 26
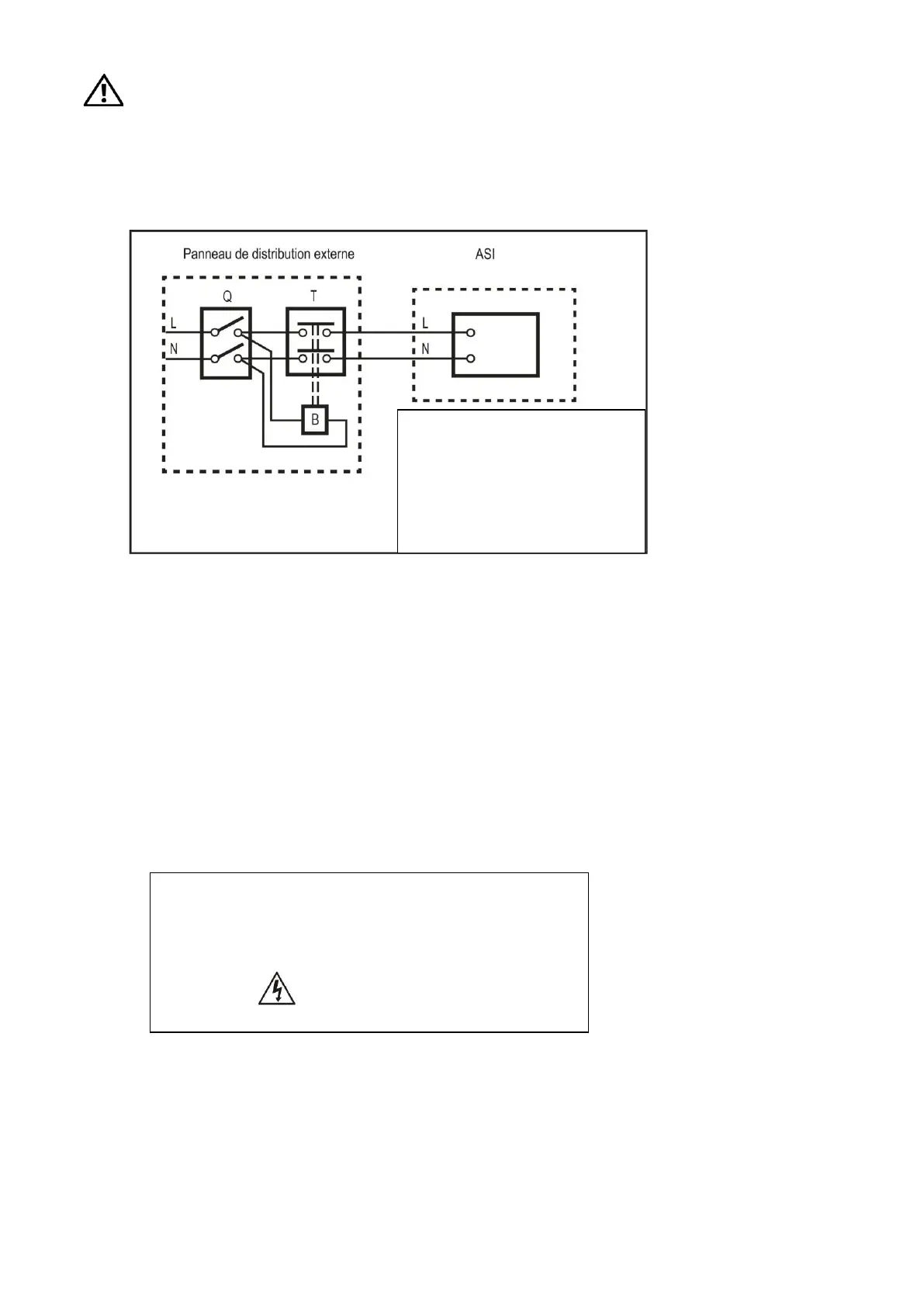
Avertissements relatifs aux connexions
Il n'y a pas de protection standard contre les retours de tension (backfeed protection), vous devez isoler
l’onduleur avant de travailler sur ce circuit. Le dispositif d'isolation doit être capable de supporter le courant
d'entrée de l’onduleur.
Cet onduleur doit être connecté avec un système de liaison à la terre TN ou TT.
L'alimentation électrique de cette unité doit être monophasée et ses valeurs nominales doivent être
conformes à la plaque d'identification de l'appareil. Il doit également être mis à la terre de manière
appropriée.
Il n'est pas recommandé d'utiliser cet appareil dans des applications de survie pour lesquelles on peut
raisonnablement s'attendre à ce que sa défaillance puisse provoquer la défaillance de l'appareil ou
affecter de manière importante sa sécurité ou son efficacité. Ne pas utiliser cet appareil en présence
d'un mélange anesthésique inflammable avec l'air, l'oxygène ou l'oxyde nitreux.
L’onduleur contient des batteries de forte capacité. Afin d'éviter tout danger d'électrocution, n'ouvrez
aucune batterie. Prenez contact avec le distributeur si une batterie doit être révisée ou remplacée.
Avant de travailler sur ce circuit
- Isoler l’onduleur
- Ensuite, vérifier la tension dangereuse entre toutes les
bornes, y compris protection terre.
Risque d’électrocution

Related product manuals