EasyManua.ls Logo

Integra DTR-5.6 - Connecting a TV or Projector

Integra DTR-5.6
88 pages
Print Icon
To Next Page IconTo Next Page
To Next Page IconTo Next Page
To Previous Page IconTo Previous Page
To Previous Page IconTo Previous Page
Loading...
24
Connecting Your Components
—Continued
•With connection , you can listen to and record audio from your TV and listen in Zone 2.
•To enjoy Dolby Digital and DTS, use connection or . (For Zone 2, use and , or and .)
Hint!
If your TV has no audio outputs, connect an audio output from your VCR to the AV receiver and use its tuner to lis-
ten to TV programs through the AV receiver.
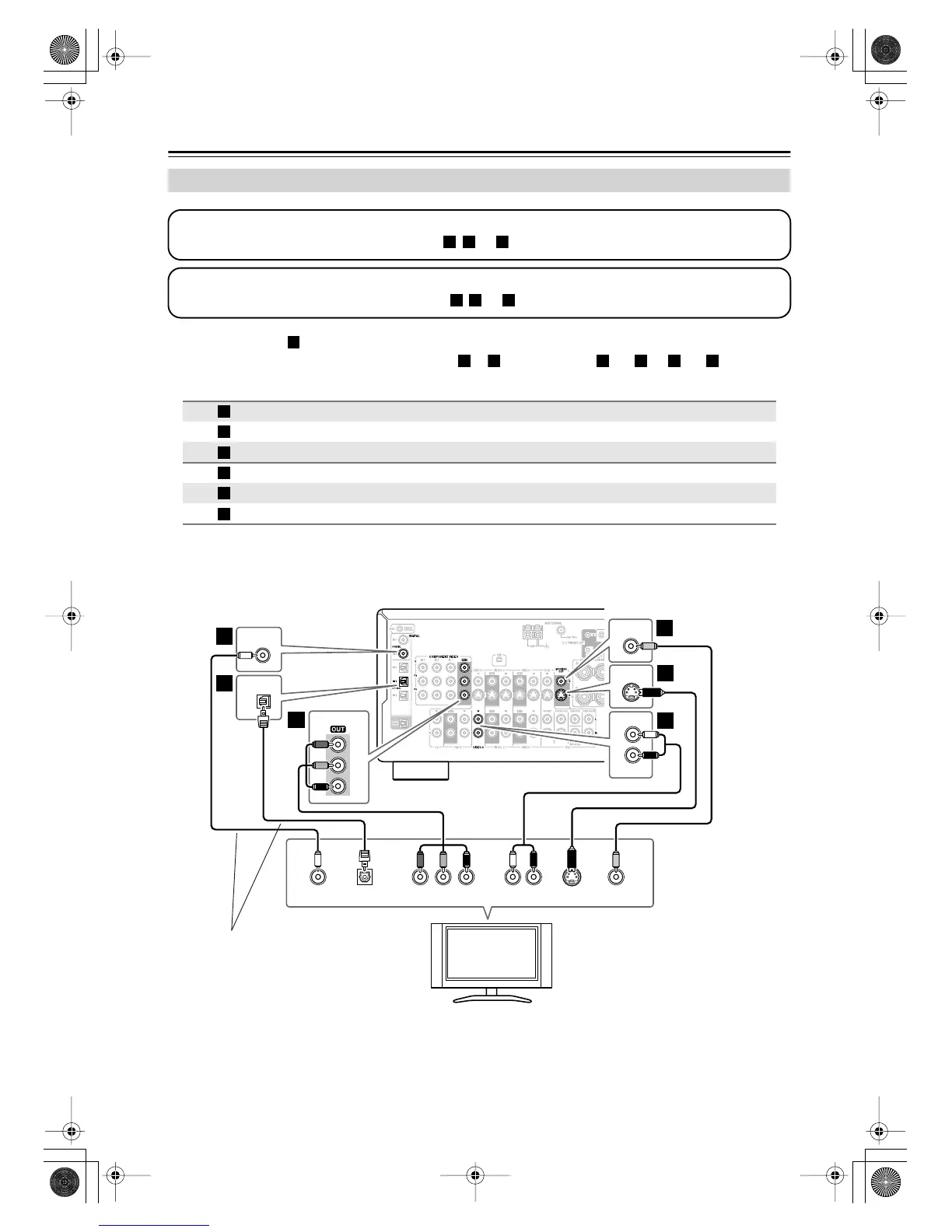
Connecting a TV or Projector
Connection AV receiver Signal flow TV Picture quality
COMPONENT VIDEO OUT
Component video input
Best
MONITOR OUT S
S-Video input Better
MONITOR OUT V
Composite video input
Standard
VIDEO 3 IN L/R
Analog audio L/R output
DIGITAL COAXIAL IN 2
Digital coaxial output
DIGITAL OPTICAL IN 2
Digital optical output
Step 1: Video Connection
Choose a video connection that matches your TV ( , , or ), and then make the connection.
A B
C
Step 2: Audio Connection
Choose an audio connection that matches your TV ( , , or ), and then make the connection.
a b c
a
b
c
a b a c
A
B
C
a
b
c
COAXIAL
IN 2
YCOAXIAL
OUT
PB
COMPONENT VIDEO IN
P
R S VIDEO
IN
AUDIO
OUT
VIDEO
IN
MONITOR
OUT
V
S
MONITOR
OUT
LR
OPTICAL
OUT
OPTICAL
IN 2
Y
P
B
PR
COMPONENT VIDEO
L
R
IN
VIDEO 3
b
c
A
B
C
B
a
C
TV, projector,
etc.
Connect one
or the other
DTR-5.6.book Page 24 Thursday, September 22, 2005 5:07 PM

Table of Contents

Related product manuals