EasyManua.ls Logo

ISHIDA IGX-150 - Test Mode Flow; Key Functions

ISHIDA IGX-150
47 pages
Print Icon
To Next Page IconTo Next Page
To Next Page IconTo Next Page
To Previous Page IconTo Previous Page
To Previous Page IconTo Previous Page
Loading...
Manual No. 085-3435-07 10/45 IGB/IGX Series (Overseas Specifications) Service Manual
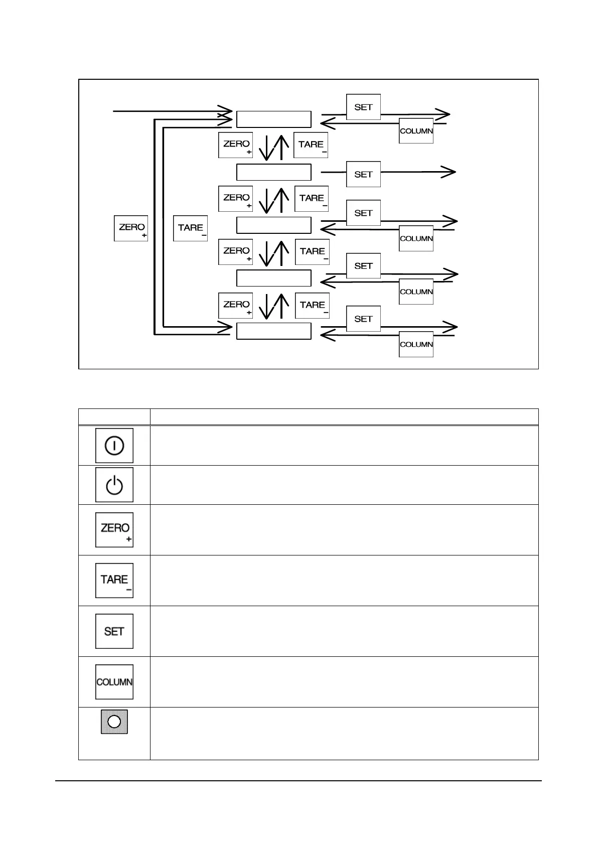
2.1.3 Test Mode Flow
C1
C2
C8, C9
C7
C3 to C6
To each C1
mode setup
Key check
mode
Each mode
operation
Scale function
Setup mode
Each mode
operation
2.1.4 Key Functions
Key Function
Turns the power ON or OFF for the IGB Series.
Turns the power ON or OFF for the IGX Series.
+5V is always supplied to the circuit voltage.
Increases the numeric value (when the numeric value is set).
Advances the mode (when conditions are set).
Adjusts the zero point.
Decreases the numeric value (when the numeric value is set).
Reverses the mode (when conditions are set).
Adjusts the span point.
Determines the data in the Details Mode.
Changes between “+ Adjust” (ZERO ³ key [u display]) and “- Adjust” (TARE key
[d display]) when the span is adjusted.
Returns to each mode.
Memory
switch
(Tact switch on the main board)
Saves the E2ROM data of each item setting of C1 mode.

Related product manuals