EasyManua.ls Logo

Janome QMP16SU - General Checks and Adjustments

Janome QMP16SU
69 pages
Print Icon
To Next Page IconTo Next Page
To Next Page IconTo Next Page
To Previous Page IconTo Previous Page
To Previous Page IconTo Previous Page
Loading...
QMP16SU Service Manual | 19
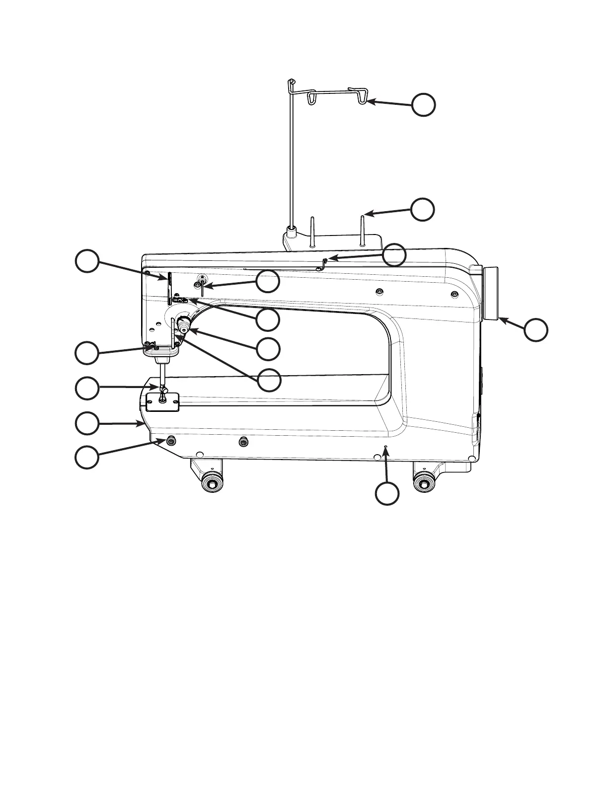
2
4
3
1
5
6
7
8
11
10
9
12
13
14
1. Spool Tray
2. Thread Mast
3. Thread Guide A
4. Three-Hole Thread Guide B
5. Thread Guide C
6. Top Thread Tension Assembly
7. Srrup Thread Guide D
8. Take-Up Lever
9. Thread Guide E
10. Needlebar Thread Guide F
11. Front Casng/Frame
12. Ruler Base Post
13. Side Laser Stylus Post Hole
14. Hand Wheel
5. General Checks and Adjustments

Related product manuals