EasyManua.ls Logo

Johnson Controls YC4 Series - Completing the Field Control Wiring Connections

Johnson Controls YC4 Series
54 pages
Print Icon
To Next Page IconTo Next Page
To Next Page IconTo Next Page
To Previous Page IconTo Previous Page
To Previous Page IconTo Previous Page
Loading...
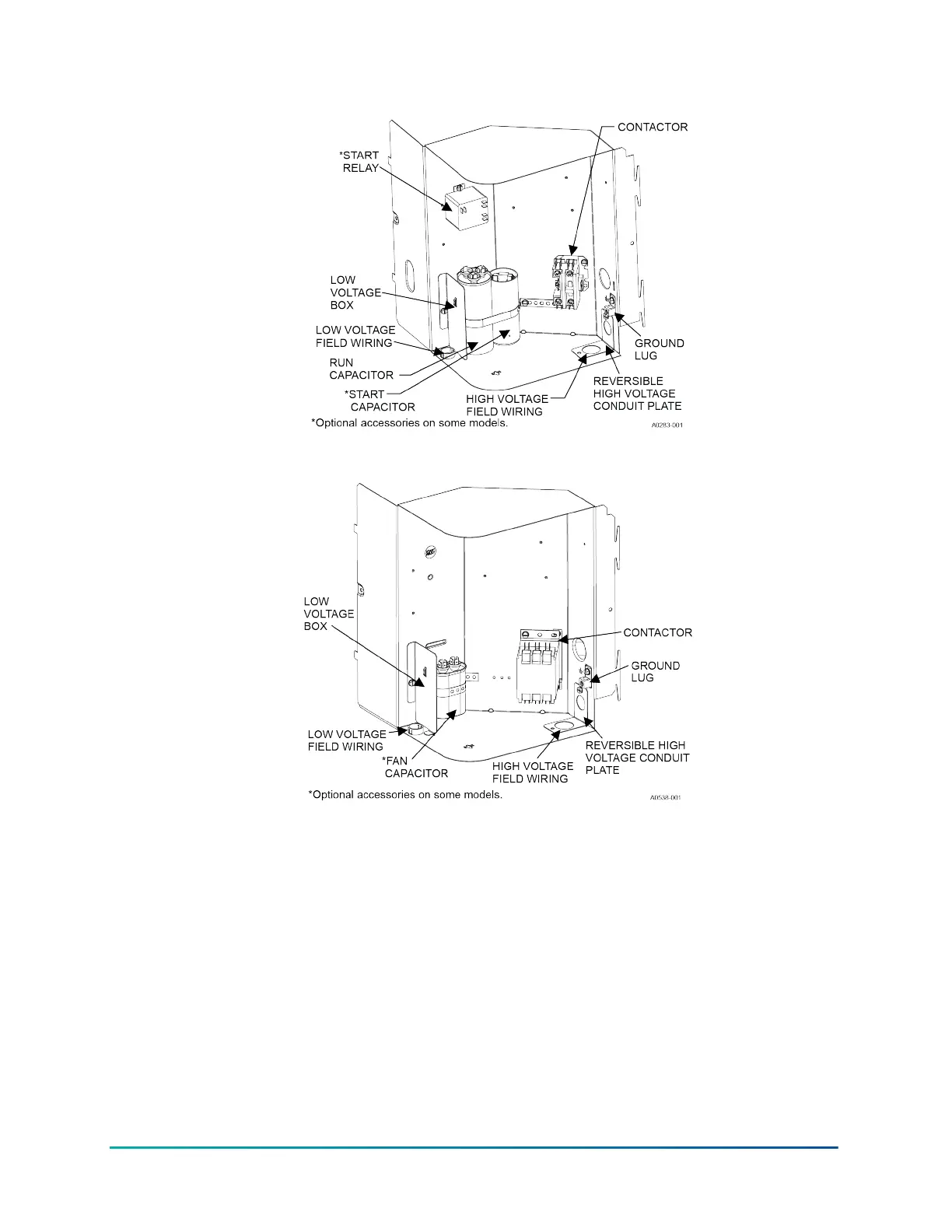
Figure 15: Outdoor unit control box (single-phase - larger base)
Figure 16: Outdoor unit control box (three-phase - larger base)
Completing the field control wiring connections
1. Route low voltage wiring into bottom of control box as shown in Figure 14 or Figure 15. Make
low voltage wiring connections inside the low voltage box as shown in Figure .
2. The complete connection diagram and schematic wiring label is located on the inside surface
of the unit service access panel.
3. Replace the control box cover removed in Step 2 of the procedures.
4. All field wiring to be in accordance with national electrical codes (NEC) or local city codes.
35Installation Manual: R-454B Outdoor Split-System Air Conditioner
Johnson Controls Ducted Systems

Table of Contents

Related product manuals