EasyManua.ls Logo

Keysight Technologies E364xA Series - Figure 1-7 Remote Voltage Sensing Connections; Figure 1-8 Local Sensing Connections

Keysight Technologies E364xA Series
237 pages
Print Icon
To Next Page IconTo Next Page
To Next Page IconTo Next Page
To Previous Page IconTo Previous Page
To Previous Page IconTo Previous Page
Loading...
Getting Started 1
Keysight E364xA User’s and Service Guide 51
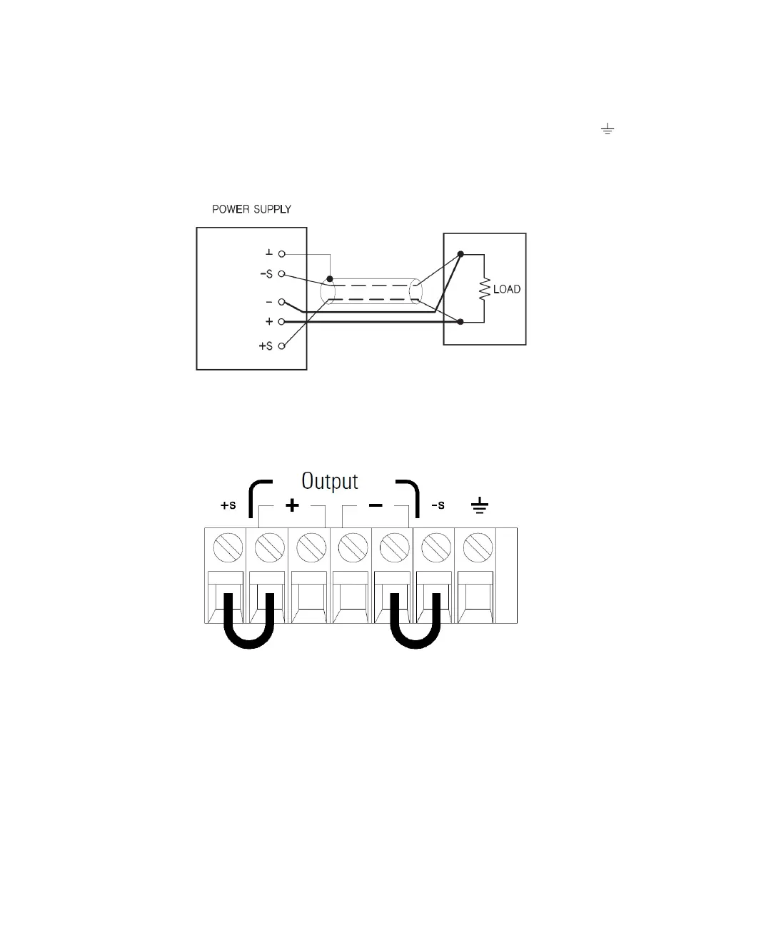
Connect one end of the sensing lead shield to the chassis ground ( ) only.
Opening a sensing lead causes the power supply’s output voltage to decrease at
the load leads. Observe the polarity when connecting the sensing leads to the
load.
Figure 1-7 Remote voltage sensing connections
Figure 1-8 Local sensing connections

Table of Contents

Related product manuals