EasyManua.ls Logo

Kimpex 058121 - Adjust the Idler Pulley; Install the Belt Guard

Kimpex 058121
64 pages
Print Icon
To Next Page IconTo Next Page
To Next Page IconTo Next Page
To Previous Page IconTo Previous Page
To Previous Page IconTo Previous Page
Loading...
14
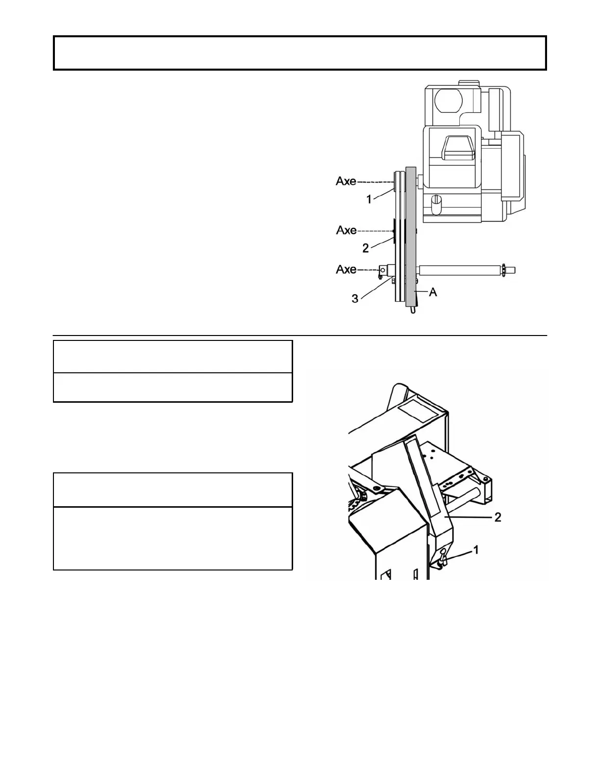
ASSEMBLY
Adjust the idler pulley as follows:
After installing the belts, you may run the engine
without the belt guard but only for the time needed to
verify the belt alignment and only under strict
supervision.
Do not approach (you or anyone else) the moving
parts. Engage and disengage the snowblower to
verify if the belts are well aligned, especially on the
idler pulley.
If necessary you can add or remove a flat washer for
final adjustment on the idler pulley (item 2).
Figure 1
Back view of snowblower
7
DANGER
7
Never let the snowblower motor run without the
belt guard & belt guide stopper in place.
Install the belt guard (item 2) and secure in place with
the rubber latch (item 1).
7
WARNING
7
TO PREVENT INJURIES:
Start the engine, engage and disengage the
clutch to be sure if functions normally.
This means when you disengage the clutch, the
snowblower will stop immediately .
Install belt guard