EasyManua.ls Logo

Kimpex 058121 - Page 49

Kimpex 058121
64 pages
Print Icon
To Next Page IconTo Next Page
To Next Page IconTo Next Page
To Previous Page IconTo Previous Page
To Previous Page IconTo Previous Page
Loading...
14
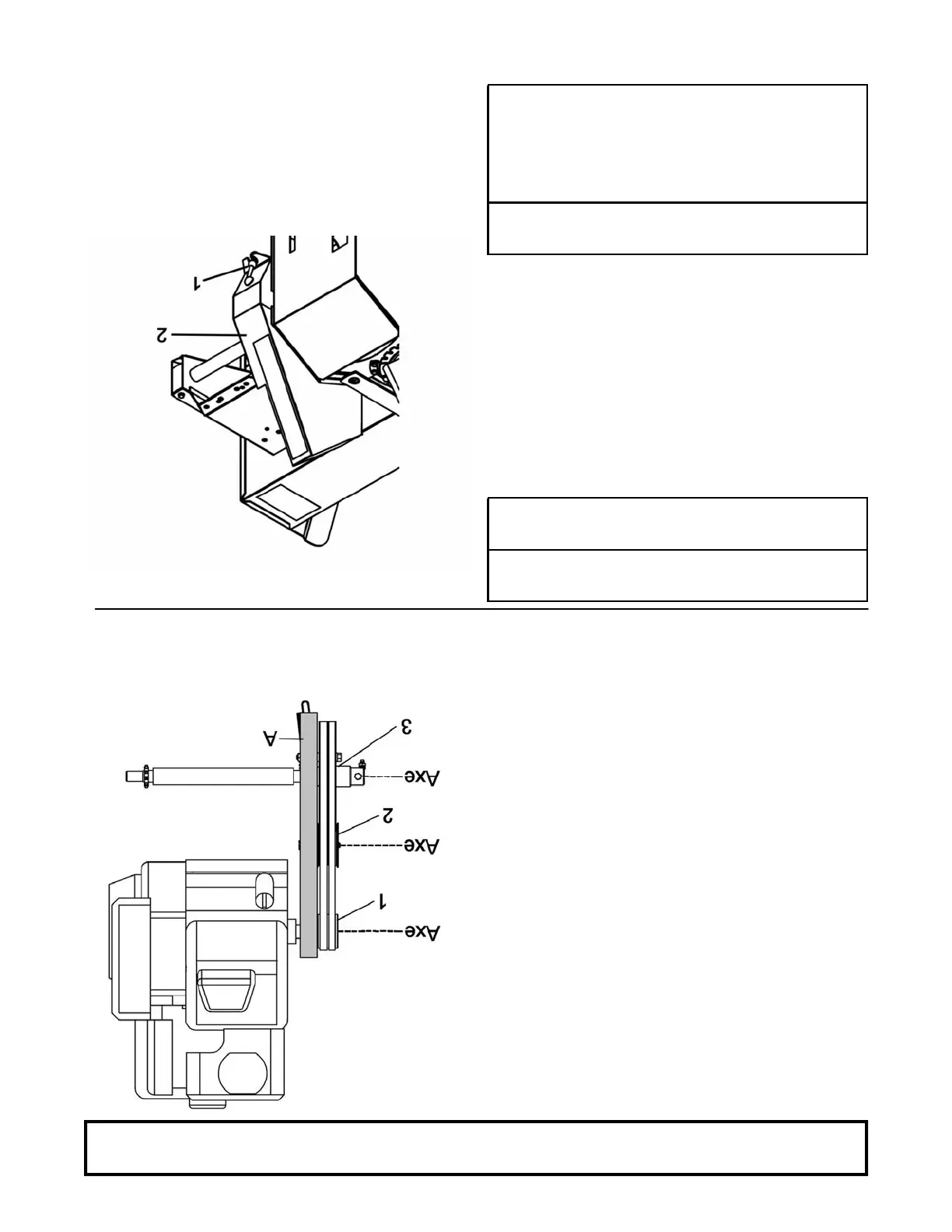
Ajuster la poulie tendeur comme suit :
Après avoir installé les courroies, vous pouvez faire
tourner le moteur sans le garde-courroie, mais
seulement pour le temps nécessaire d’effectuer la
vérification de l’alignement des courroies. Ne laisser
pas la souffleuse sans surveillance.
Ni vous, ni personne ne doit s’approcher des
pièces mobiles. Embrayer et débrayer la souffleuse
pour vérifier si les courroies sont bien alignées,
spécialement sur la poulie tendeur.
Si cela est nécessaire, vous pouvez ajouter ou
enlever une rondelle plate pour l’ajustement final sur
la poulie tendeur (item 2).
Figure A
Vue arrière de la souffleuse. Tout les poulies sont
alignées et le moteur bien positionné.
ASSEMBLAGE
7
PRÉCAUTIONS
7
Ne jamais faire tourner le moteur de la souffleuse
sans que le garde-courroie soit bien en place.
Installer le garde-courroie
7
ATTENTION
7
POUR PRÉVENIR LES BLESSURES:
Démarrer le moteur, embrayer et débrayer
l’embrayage pour s’assurer qu’il
fonctionne bien. Ceci veut dire que
lorsque vous débrayez l’embrayage, la
souffleuse s’arrête immédiatement.
Installer le garde-courroie (item 2) et sécuriser en
place avec l’attache de caoutchouc (item 1).