EasyManua.ls Logo

Kinco CD622S - 7.1.2 Parameters for Pulse Control Mode

Kinco CD622S
111 pages
Print Icon
To Next Page IconTo Next Page
To Next Page IconTo Next Page
To Previous Page IconTo Previous Page
To Previous Page IconTo Previous Page
Loading...
59
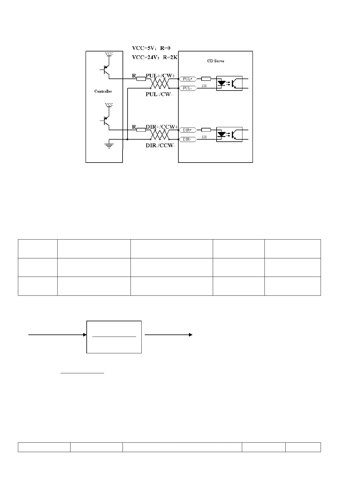
3. Common cathode connection (to controllers that support valid high level output)
Fig. 7-4 Common cathode connection (to controllers that support valid high level output)
7.1.2 Parameters for Pulse Control Mode
1. Parameters for electronic gear ratio
Table 7-1 Parameters for electronic gear ratio
Numeric
Display
Variable Name
Meaning
Default Value
Range
d3.34
Gear_Factor
Numerator of electronic
gear 0 in mode -4
1000
-32767~32767
d3.35
Gear_Divider
Denominator of electronic
gear 0 in mode -4
1000
1~32767
Parameters for electronic gear ratio are used to set the numerator and denominator of electronic gears when
the driver operates in mode -4.
Command pulse input Command pulse output
F1 F2
Namely: F2=
DividerGear
FactorGear
_
_
* F1
If the electronic gear ratio is 1:1, 10000 pulses are inputted externally (the resolution of encoders is 2500
PPR, quadruple), and the motor turns a circle. If the electronic gear ratio is 2:1, 10000 pulses are inputted
externally, and the motor turns two circles.
2. Parameters for pulse mode selection
Table 7-2 Parameters for pulse mode selection
Numeric
Variable Name
Meaning
Default
Range
DividerGear
FactorGear
_
_

Table of Contents

Related product manuals