EasyManua.ls Logo

Kinco CD622S - Chapter 7 Mode Operation; 7.1 Pulse Control Mode (“-4” Mode); 7.1.1 Wiring in Pulse Control Mode

Kinco CD622S
111 pages
Print Icon
To Next Page IconTo Next Page
To Next Page IconTo Next Page
To Previous Page IconTo Previous Page
To Previous Page IconTo Previous Page
Loading...
58
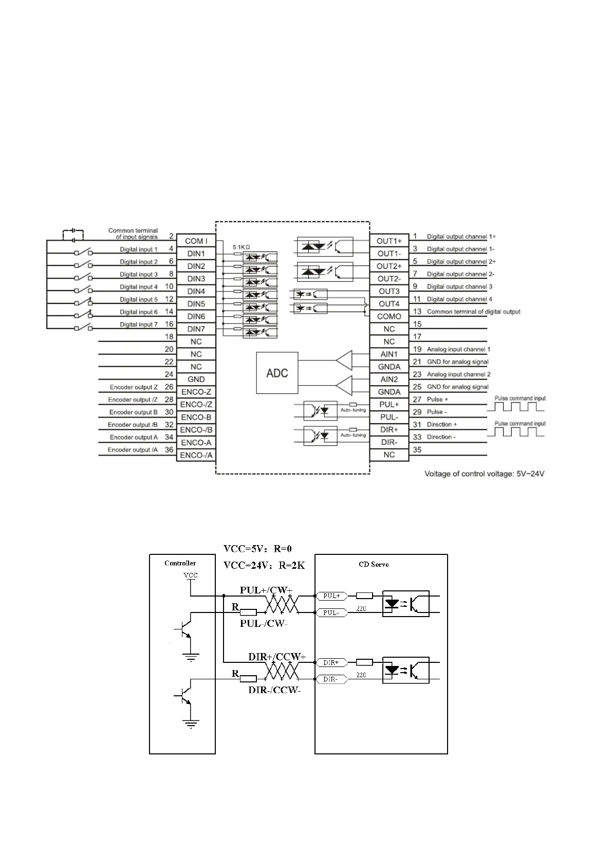
Chapter 7 Mode Operation
7.1 Pulse Control Mode (“-4” Mode)
7.1.1 Wiring in Pulse Control Mode
1. Wiring diagram of CD2S driver in pulse control mode
Fig. 7-1 Wiring diagram of CD2S driver in pulse control mode
2.Common anode connection (to controllers that support valid low level output)
Fig. 7-3 Common anode connection (to controllers that support valid low level output)

Table of Contents

Related product manuals