EasyManua.ls Logo

KitchenAid KEBK171SSS - Page 63

KitchenAid KEBK171SSS
66 pages
Print Icon
To Next Page IconTo Next Page
To Next Page IconTo Next Page
To Previous Page IconTo Previous Page
To Previous Page IconTo Previous Page
Loading...
7-3
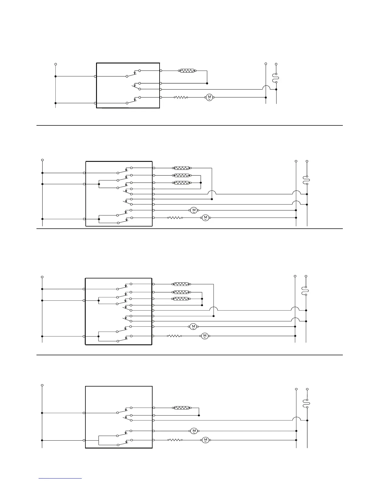
BREAD PROOF PREHEAT B - BREAD PROOF PREHEAT A - BREAD
PROOF SS
CONVECT BAKE PREHEAT A - CONVECT BAKE SS
(CONVECTION MODELS ONLY)
CONVECT BAKE PREHEAT B - CONVECT ROAST PREHEAT B -
CONVECT ROAST PREHEAT A - CONVECT ROAST SS -
DEHYDRATE PREHEAT B (CONVECTION MODELS ONLY)
DEHYDRATE PREHEAT SS - DEHYDRATE PREHEAT A
(CONVECTION MODELS ONLY)
T1-1
T1-2
P8-4
R
BLOWER SPEED
RESISTOR
BLOWER
NL2
OVEN SHUTDOWN
THERMALCUTOFF
(NON-RESETTABLE)
105°C(221°F)
R/W
R
L1
T4-3
P8-1
BK
GY
BK
BK
T3-3
GY
R
R
BAKE 2000W
W
W
BREAD PROOF
PREHEAT B
BREAD PROOF
PREHEAT A
BREAD PROOF SS
W
T1-2
R
BLOWER SPEEDRESISTOR
BLOWER
N L2
OVEN SHUTDOWN
THERMALCUTOFF
(NON-RESETTABLE)
(
105°C (221°F)
OR
GY
W R
T3-1
T2-1
T2-2
OUTBROIL 1450W
BU
L1
T4-3
T4-4
BK
BAKE 2000W
BK
BK
BK
P8-1
T3-3
T3-2
T1-1
P8-3
P8-4
R
Y
R/W
R
R/W
R
CONV. RING 1600W
Y
BU
GY
CONV. FAN
W
L1
BK
BK
BK
BK
T4-4
T4-3
P8-1
T3-1
T3-3
T3-4
T1-1
T1-2
T2-1
T2-2
P8-3
P8-4
BU
R
OR
R
GY
OUT BROIL 1450W
BAKE 2000W
IN BROIL 1800W
BLOWER
CONV.FAN
BLOWER SPEED
RESISTOR
OVEN SHUTDOWN
THERMAL CUTOFF
(NON-RESETTABLE)
105°C (221°F)
R/W
R
R/W
OR
GY
BU
R
N L2
W R
W
W
OR
L1
BK
T4-4
P8-1
T2-1
T2-2
P8-3
P8-4
R
GY
BLOWER
CONV. FAN
BLOWER SPEED
RESISTOR
OR
N L2
W R
BK
BK
T3-2
Y
CONV. RING 1600W
Y
R/W
GY
W
W
OVEN SHUTDOWN
THERMAL CUTOFF
(NON-RESETTABLE)
105°C(221°F)

Table of Contents

Related product manuals