EasyManua.ls Logo

KITO ER030L - Page 14

Default Icon
55 pages
Print Icon
To Next Page IconTo Next Page
To Next Page IconTo Next Page
To Previous Page IconTo Previous Page
To Previous Page IconTo Previous Page
Loading...
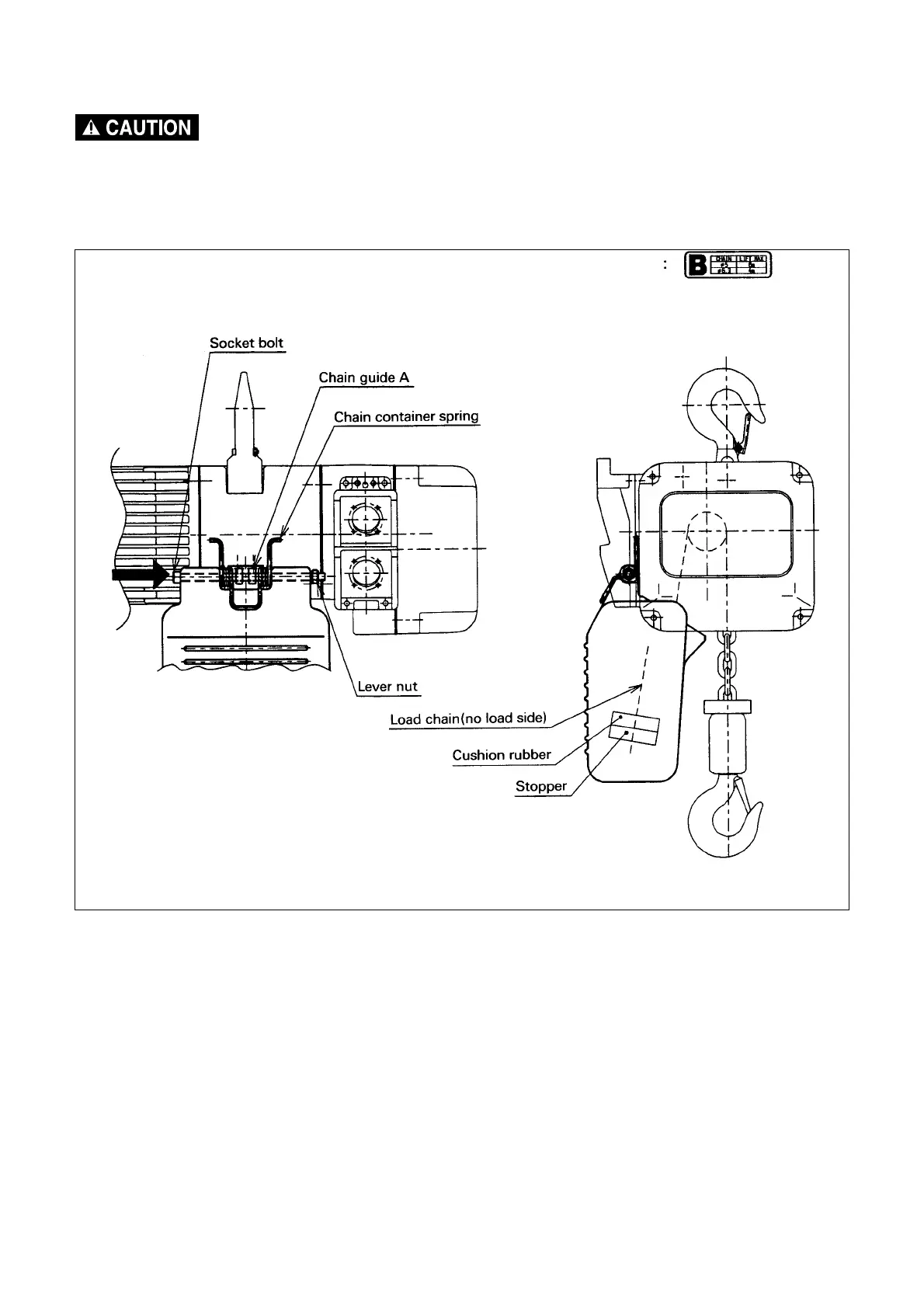
Remove the chain container P when you put down the hoist on the ground.
2. Chain container
Install to the hoist body as shown Fig 5-3.
11
Fig 5-1 Attachment of chain container P with name plate K

Related product manuals