EasyManua.ls Logo

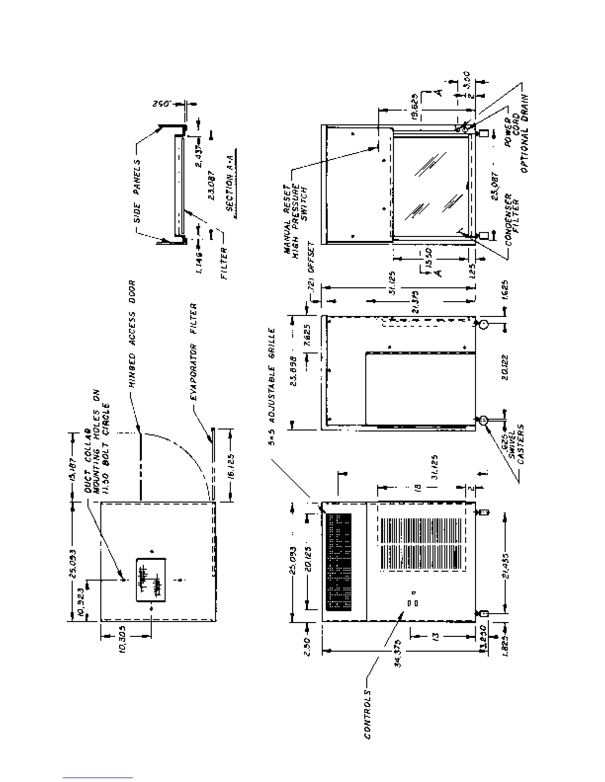
Koldwave 2AK1411M - Unit Drawing

Default Icon
32 pages
Print Icon
To Next Page IconTo Next Page
To Next Page IconTo Next Page
To Previous Page IconTo Previous Page
To Previous Page IconTo Previous Page
Loading...
28
KOLDWAVE 2AK (AIRMASTER)

Related product manuals