EasyManua.ls Logo

Kongsberg Simrad RA85 - Page 79

Kongsberg Simrad RA85
160 pages
Print Icon
To Next Page IconTo Next Page
To Next Page IconTo Next Page
To Previous Page IconTo Previous Page
To Previous Page IconTo Previous Page
Loading...
RA83/84/85/93/94/95 Series Chapter 5
Operation Manual Basic Operation
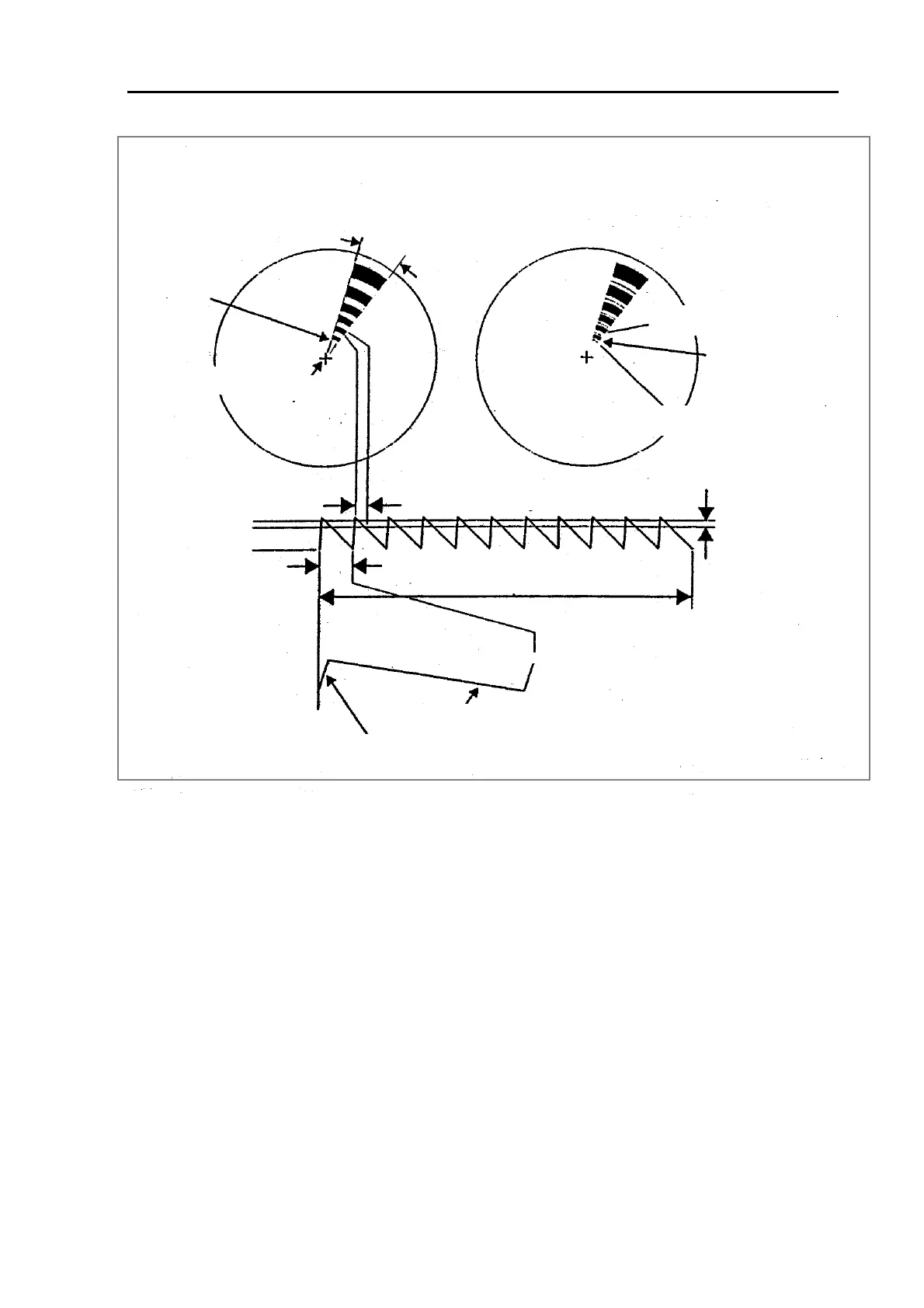
1 nm or more beyond
the SART position
Within 1 nm of the SART position
Beam width of the
radar signal received
SART
position
Current position
Bandwidth
of the radar
Signal
received
Slow sweep signal
SART position
Fast sweep signal
Slow sweep signal
Fast sweep signal
Sweep start
9,500 MHz
9,200 MHz
7.5
µ
sec sweep time
95
µ
sec sweep time
SART mark length
The SART signal presentation and its signal timing
93142105-02 5-23

Table of Contents

Other manuals for Kongsberg Simrad RA85

Related product manuals