EasyManua.ls Logo

Kyocera FS-1020MFP

Kyocera FS-1020MFP
111 pages
To Next Page IconTo Next Page
To Next Page IconTo Next Page
To Previous Page IconTo Previous Page
To Previous Page IconTo Previous Page
Loading...
4-4
Printing
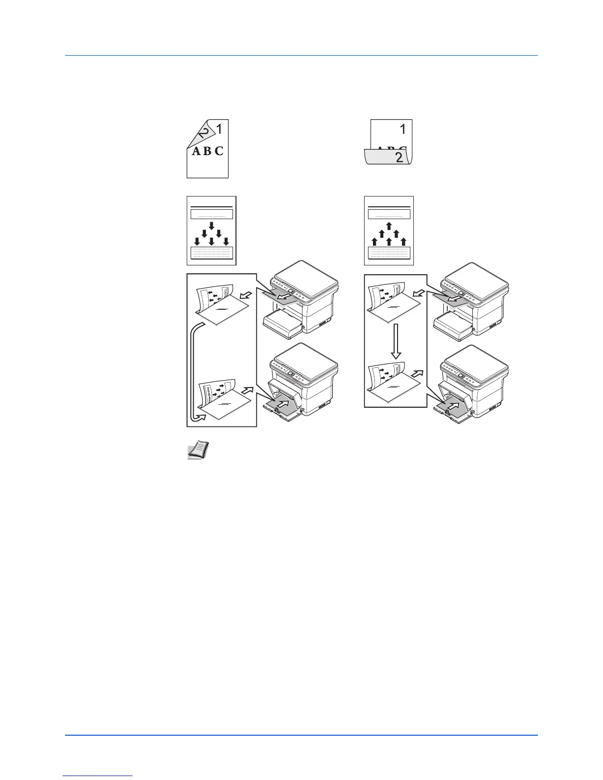
4 Load the even pages printed into the cassette with the instruction sheet facing down and
the arrows pointing toward the machine.
5 Select OK in the Manual Duplex Instruction message box of the printer driver screen. All
the odd pages will be printed.
Note If the paper is considerably curled in one direction, roll the paper in the opposite
direction to counteract the curl. If this will not cancel the curl satisfactorily, try to
reduce the number of sheets loaded in the cassette to the maximum of 100.
Manual Duplex Instructions
Long Edge Binding
Manual Duplex Instructions
Short Edge Binding

Table of Contents

Other manuals for Kyocera FS-1020MFP

Related product manuals