EasyManua.ls Logo

Lauda Integral T 4600 - Page 13

Default Icon
108 pages
Print Icon
To Next Page IconTo Next Page
To Next Page IconTo Next Page
To Previous Page IconTo Previous Page
To Previous Page IconTo Previous Page
Loading...
Integral T process thermostats
21/01/2019/ YAWE 0026 Brief instructions 13
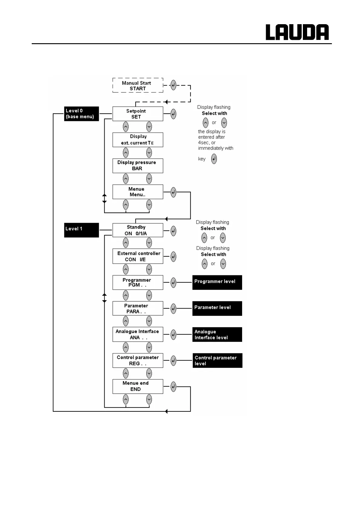
7. Equipment setup
The Parameter menu includes a default function ( Section 7.6.4.7) which produces a basic
adjustment of nearly all functions and permits basic operation with internal control.
Section 7.6.3
Section 7.6.4
Section 7.6.5
Section 7.6.6

Table of Contents

Related product manuals