EasyManua.ls Logo

Lauda Integral T 4600 - 7.6.6 Control parameter level

Default Icon
108 pages
Print Icon
To Next Page IconTo Next Page
To Next Page IconTo Next Page
To Previous Page IconTo Previous Page
To Previous Page IconTo Previous Page
Loading...
Integral T process thermostats
21/01/2019 / YAWE 0026 Starting up 73
Take voltage reading on the meter and set it with
After calibration has been completed this display
appears again.
Back to the menu "Analogue interface CAL".
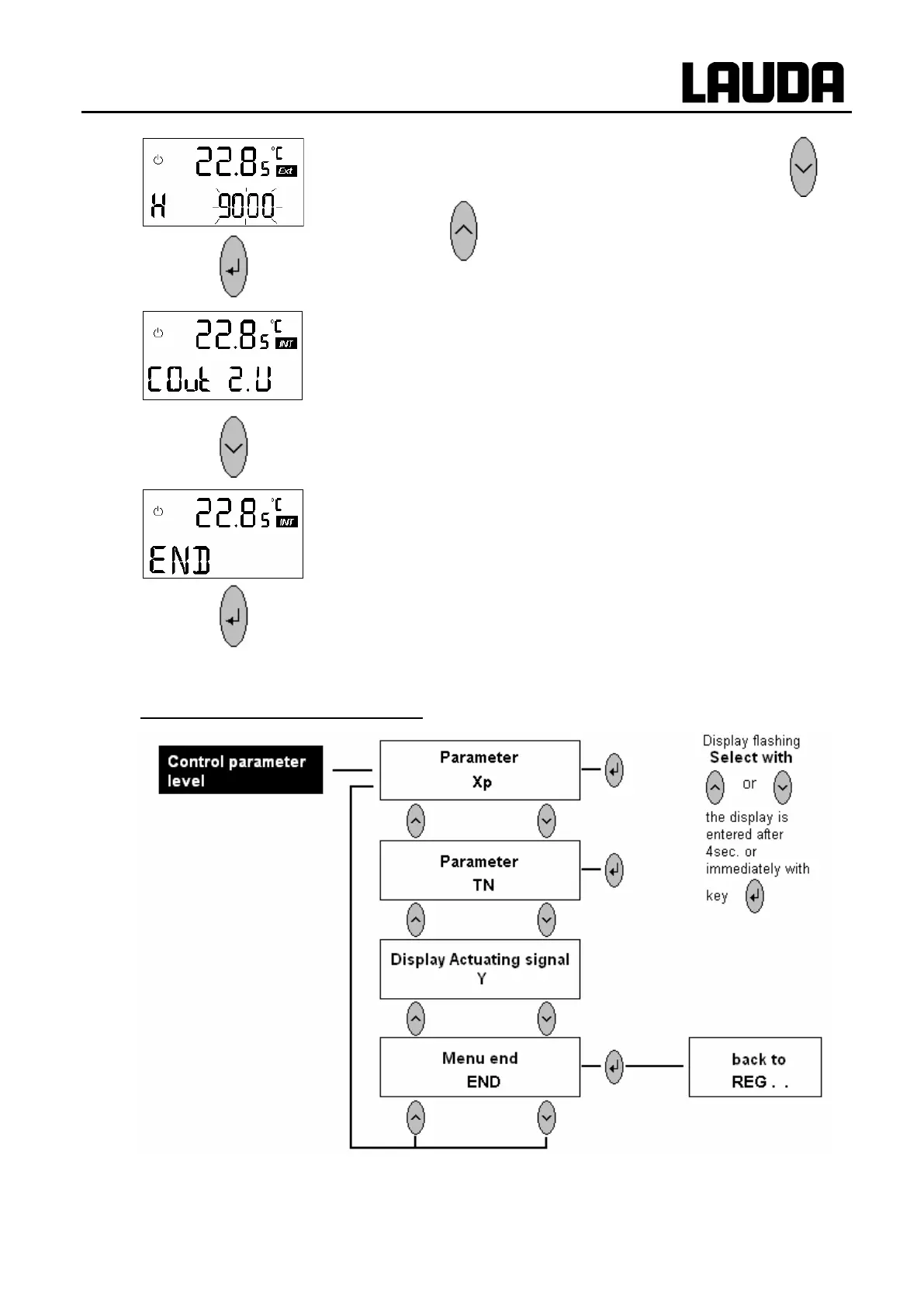
7.6.6 Control parameter level
With internal control (outflow control):

Table of Contents

Related product manuals