EasyManua.ls Logo

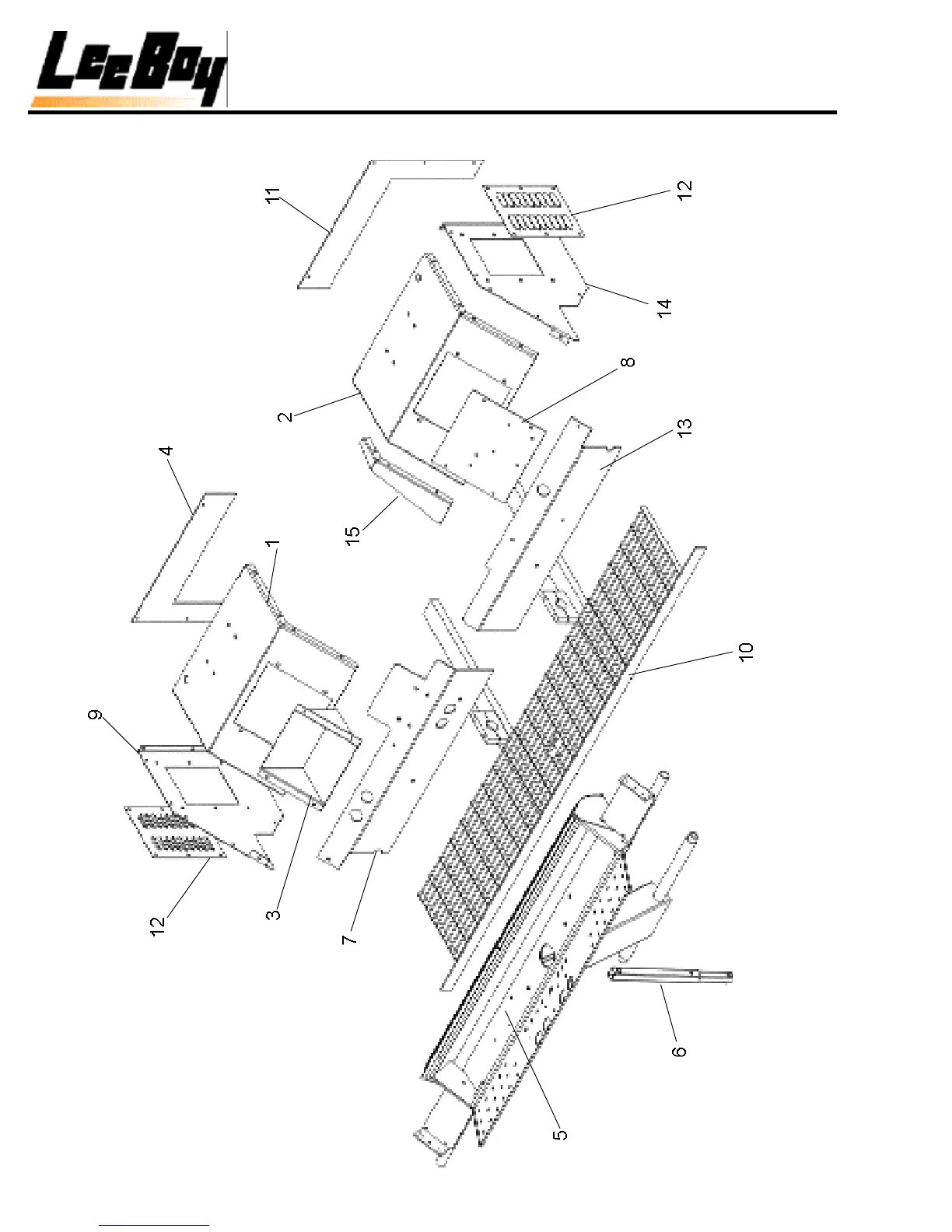
LeeBoy 8500 - Elite III Sheet Metal Cover; Sheet Metal Cover Components

LeeBoy 8500
117 pages
Print Icon
To Next Page IconTo Next Page
To Next Page IconTo Next Page
To Previous Page IconTo Previous Page
To Previous Page IconTo Previous Page
Loading...
ELITE III SHEET METAL COVER
60

Table of Contents

Related product manuals