EasyManua.ls Logo

LeeBoy 8500 - Hopper Components (Low Deck)

LeeBoy 8500
117 pages
Print Icon
To Next Page IconTo Next Page
To Next Page IconTo Next Page
To Previous Page IconTo Previous Page
To Previous Page IconTo Previous Page
Loading...
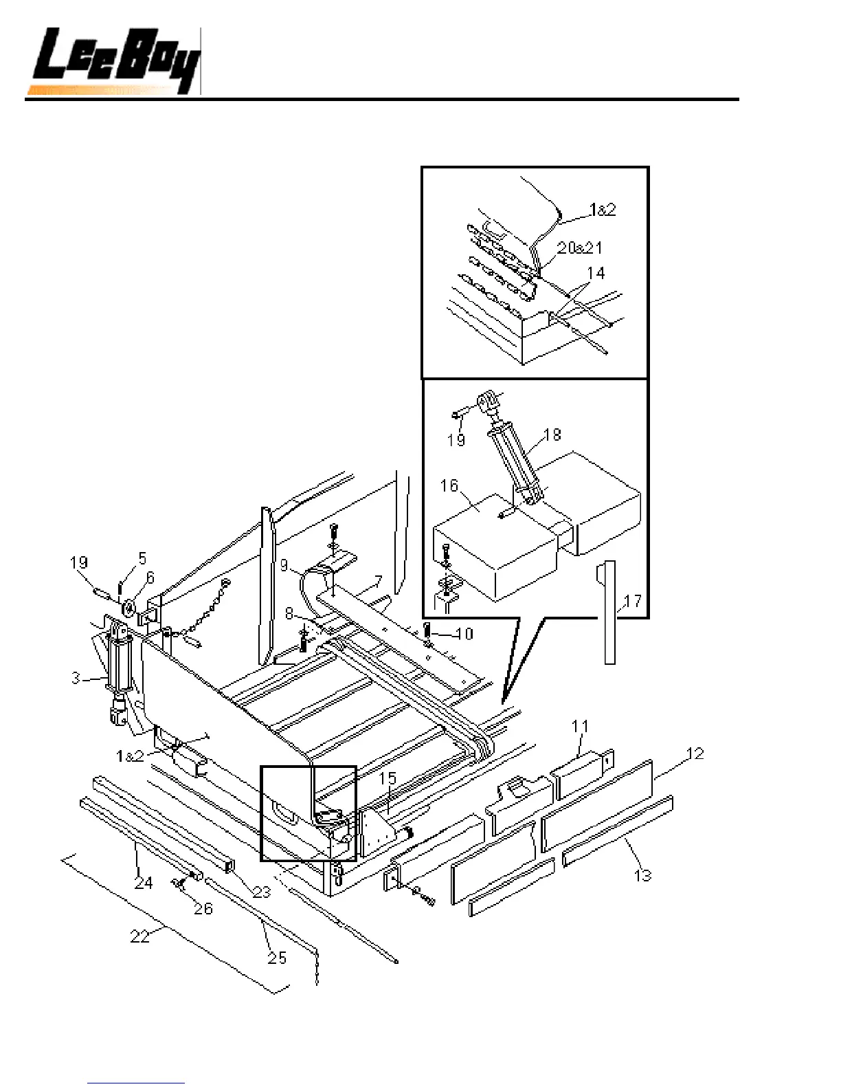
HOPPER COMPONENTS
(LOW DECK)
6

Table of Contents

Related product manuals