EasyManua.ls Logo

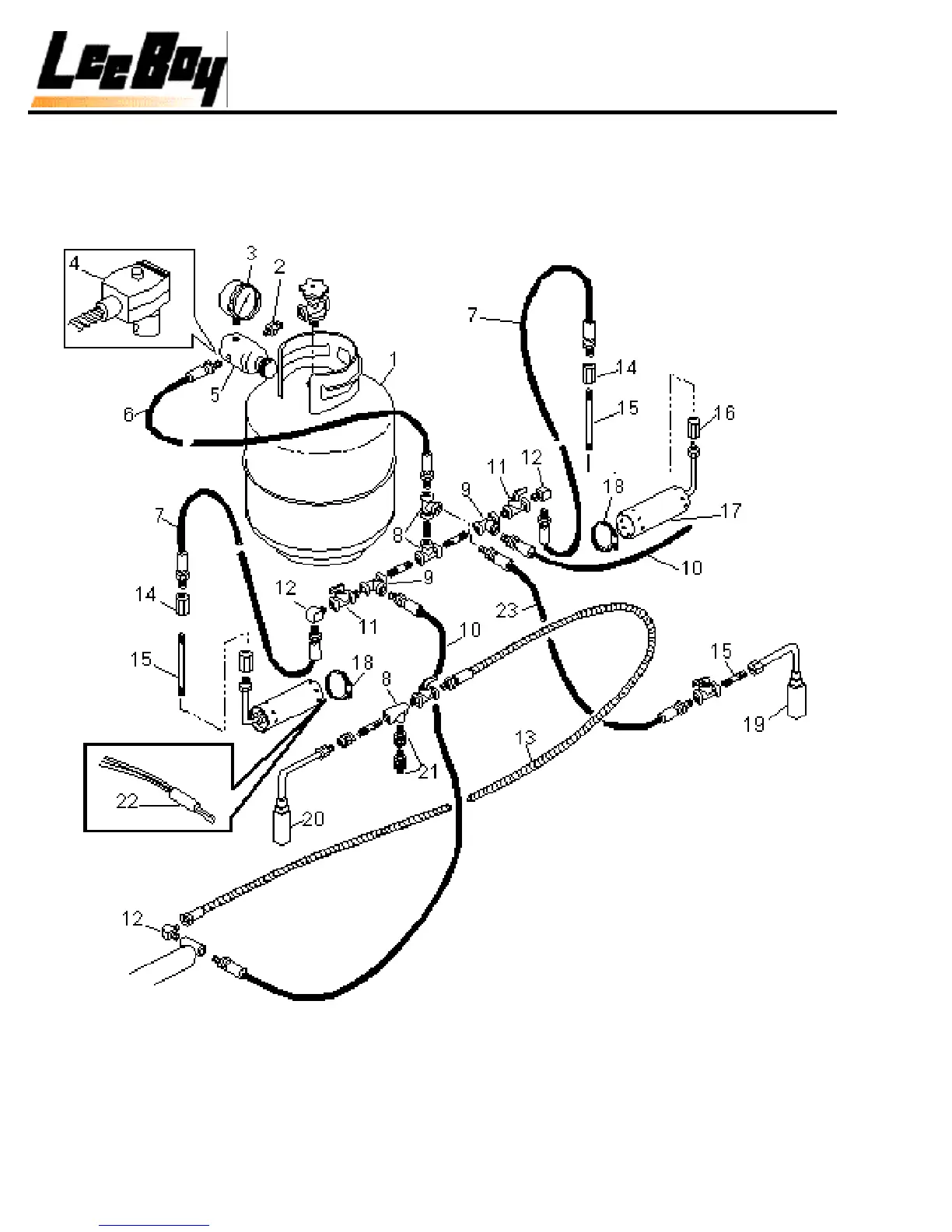
LeeBoy 8500 - Propane Heater and Ignitors; Propane Heater System Components

LeeBoy 8500
117 pages
Print Icon
To Next Page IconTo Next Page
To Next Page IconTo Next Page
To Previous Page IconTo Previous Page
To Previous Page IconTo Previous Page
Loading...
PROPANE HEATER &
AUTOMATIC IGNITORS
48

Table of Contents

Related product manuals