EasyManua.ls Logo

Lenze L−force GST - Page 38

Lenze L−force GST
72 pages
Print Icon
To Next Page IconTo Next Page
To Next Page IconTo Next Page
To Previous Page IconTo Previous Page
To Previous Page IconTo Previous Page
Loading...
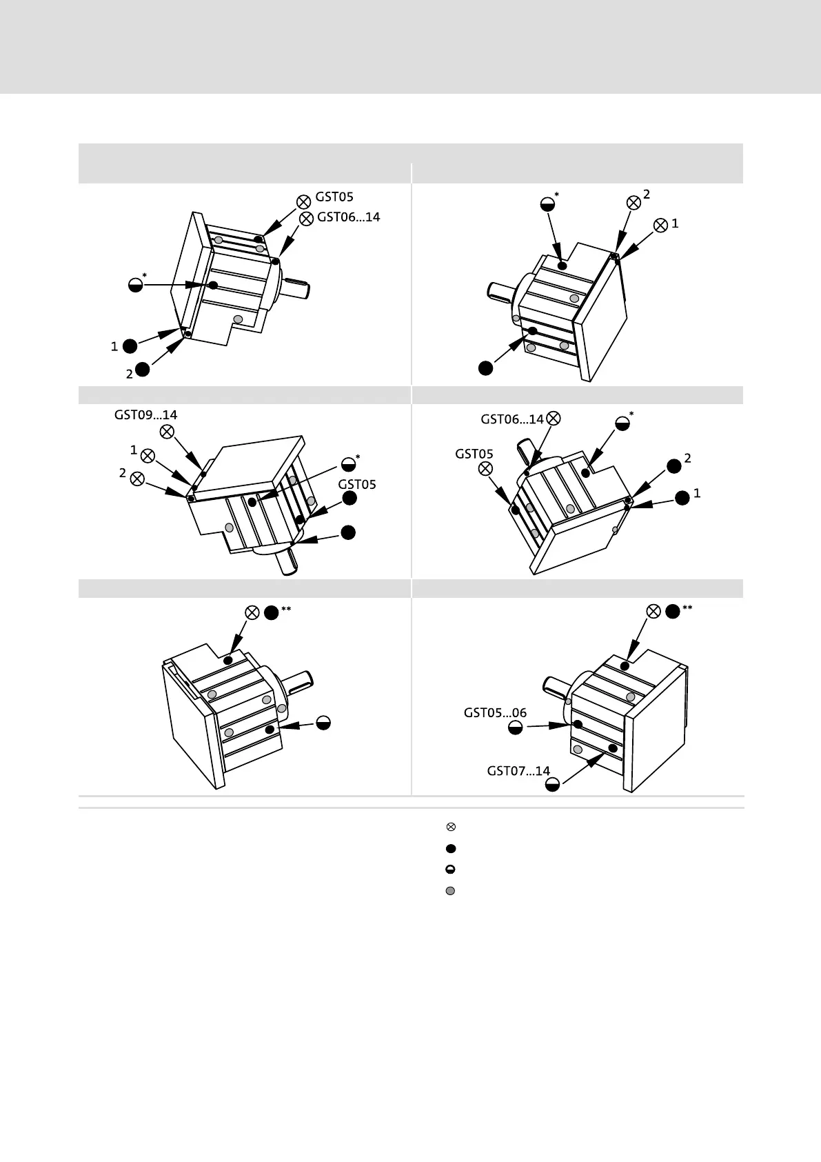
Mechanical installation
Mounting
Breather position, oil filling screw and drain plug
4
l
38
BA 12.0023−EN 6.0
Helical gearbox GST 05 ... 14−2, flange housing
A B
C D
E F
GT−GNG−GST−009.iso/dms
A...F Mounting positions Breathing / oil filler plug
*
on both sides Oil drain plug
**
opposite Oil−control plug
Pos. 1 or 2 depending on version
Sealing plug without function

Table of Contents

Related product manuals