EasyManua.ls Logo

Lewmar V8 - 8.4 Model V8 deck template guide

Lewmar V8
40 pages
Print Icon
To Next Page IconTo Next Page
To Next Page IconTo Next Page
To Previous Page IconTo Previous Page
To Previous Page IconTo Previous Page
Loading...
34
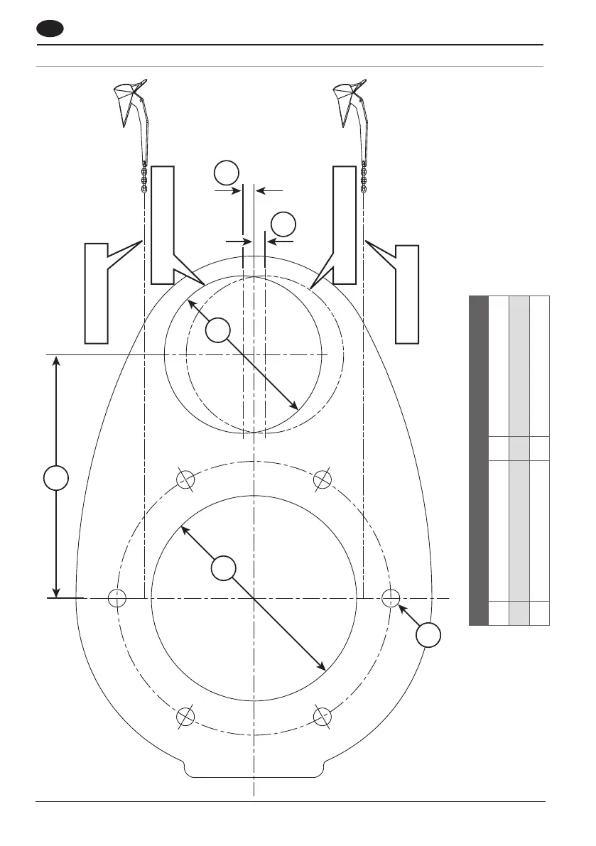
MODEL V8
A 178 mm (7”) D Ø115 mm (4½”)
B Ø150 mm (6”) E 8 mm (5/16”)
C 6 x Ø13 mm (½”) PCD 200 mm (7⅞”) F Ø154 mm
A
B
D
C
E
E
L/H Chain Line
R/H Chain Line
R/H Deck Cut-out
L/H Chain Line
GB
8.4 Model V8 deck template guide

Related product manuals