EasyManua.ls Logo

Lexicon PCM 91 - REV - Concert Hall Algorithm

Lexicon PCM 91 - REV
163 pages
Print Icon
To Next Page IconTo Next Page
To Next Page IconTo Next Page
To Previous Page IconTo Previous Page
To Previous Page IconTo Previous Page
Loading...
Lexicon
3-6
PCM 91 User Guide
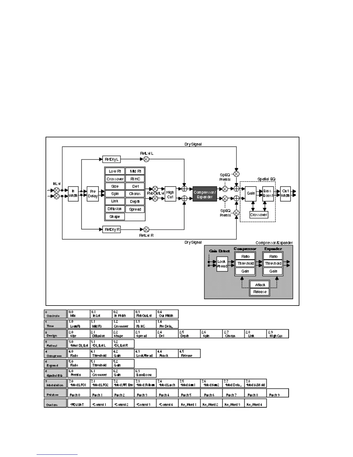
This algorithm emulates a real concert hall. The reverberation is very clean, and
designed to remain behind the direct sound adding ambience, but leaving the
source unchanged. This effect has a relatively low initial echo density which
builds up gradually over time.
This algorithm also features a post-reverb compressor which can be used to
shape the reverb tail in unusual ways. Spatial EQ controls, following the
compressor, can be used to widen or narrow low-frequency stereo separation.
A dry signal path allows you to process material with or without reverberation.
This is useful in live recordings.
Concert Hall
Note that the compressor and expander
controls are computed simultaneously.

Table of Contents

Related product manuals