EasyManua.ls Logo

LG MCD112 - Packing Accessory View

LG MCD112
65 pages
Print Icon
To Next Page IconTo Next Page
To Next Page IconTo Next Page
To Previous Page IconTo Previous Page
To Previous Page IconTo Previous Page
Loading...
2-13
Copyright © 2009 LG Electronics. Inc. All right reserved.
Only for training and service purposes
LGE Internal Use Only
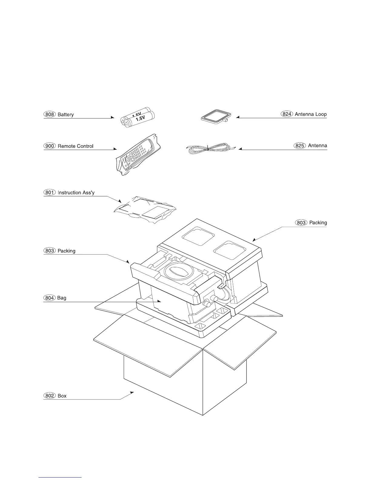
PACKING ACCESSORY VIEW

Table of Contents

Related product manuals