EasyManua.ls Logo

Lifetime 90192 - Page 34

Lifetime 90192
56 pages
Print Icon
To Next Page IconTo Next Page
To Next Page IconTo Next Page
To Previous Page IconTo Previous Page
To Previous Page IconTo Previous Page
Loading...

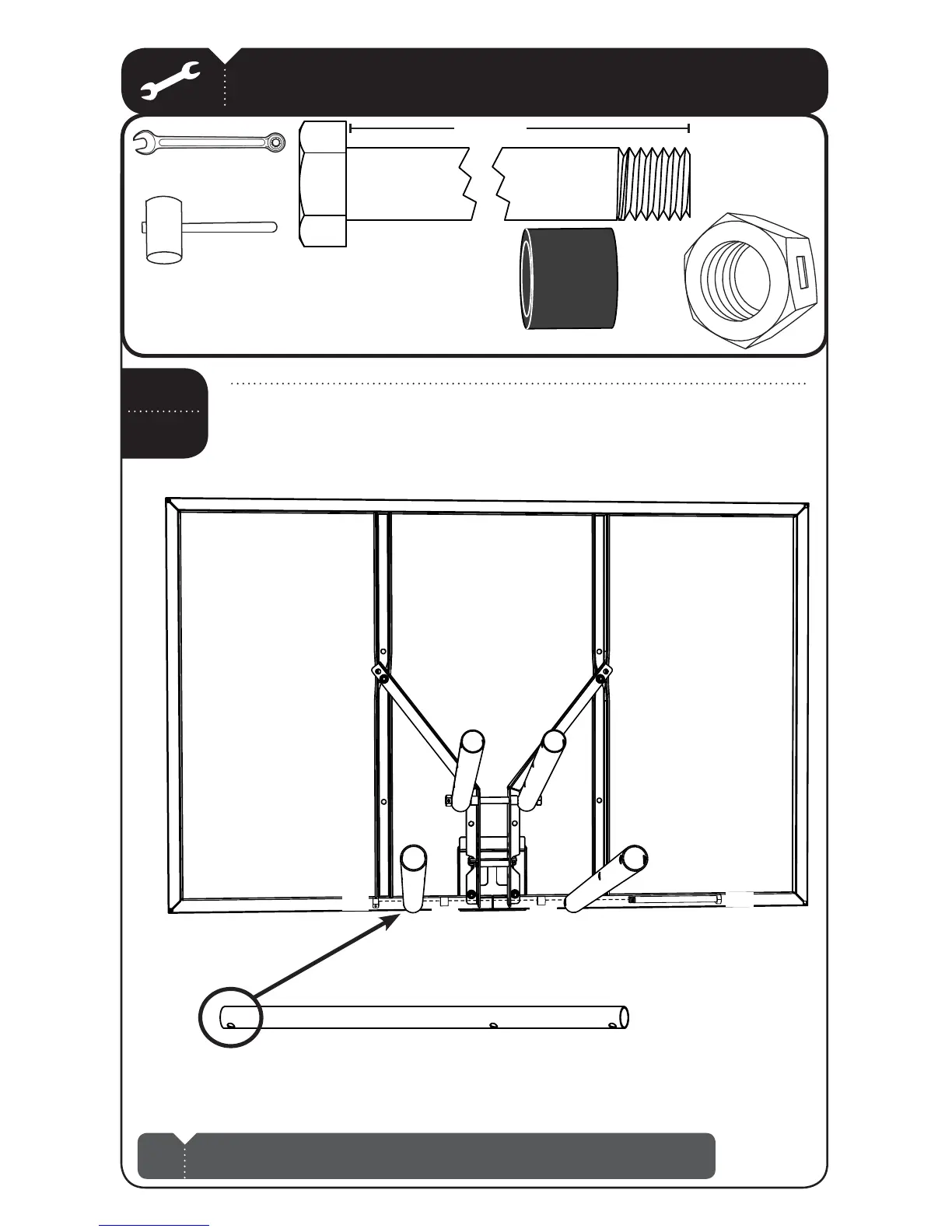
TOOLS AND HARDWARE REQUIRED FOR THIS PAGE
Secure the ends of the Long Extension Arms (AKB) that only have one
hole to the Backboard Brackets in the location shown with the
hardware indicated.
SEC

v (x2)
!!8 (x1)
ABL (x2)
AAD (x1)
(Not actual length)
!!8
ABL
AAD
AKB
ABL
AKB
Note: Tighten the 1/2” Centerlock Nut (AAX) until it is fl ush with the end of the Bolt.
!
7 1/16”

Related product manuals