EasyManua.ls Logo

Maggi BORING SYSTEM 35 - Page 50

Default Icon
66 pages
Print Icon
To Next Page IconTo Next Page
To Next Page IconTo Next Page
To Previous Page IconTo Previous Page
To Previous Page IconTo Previous Page
Loading...
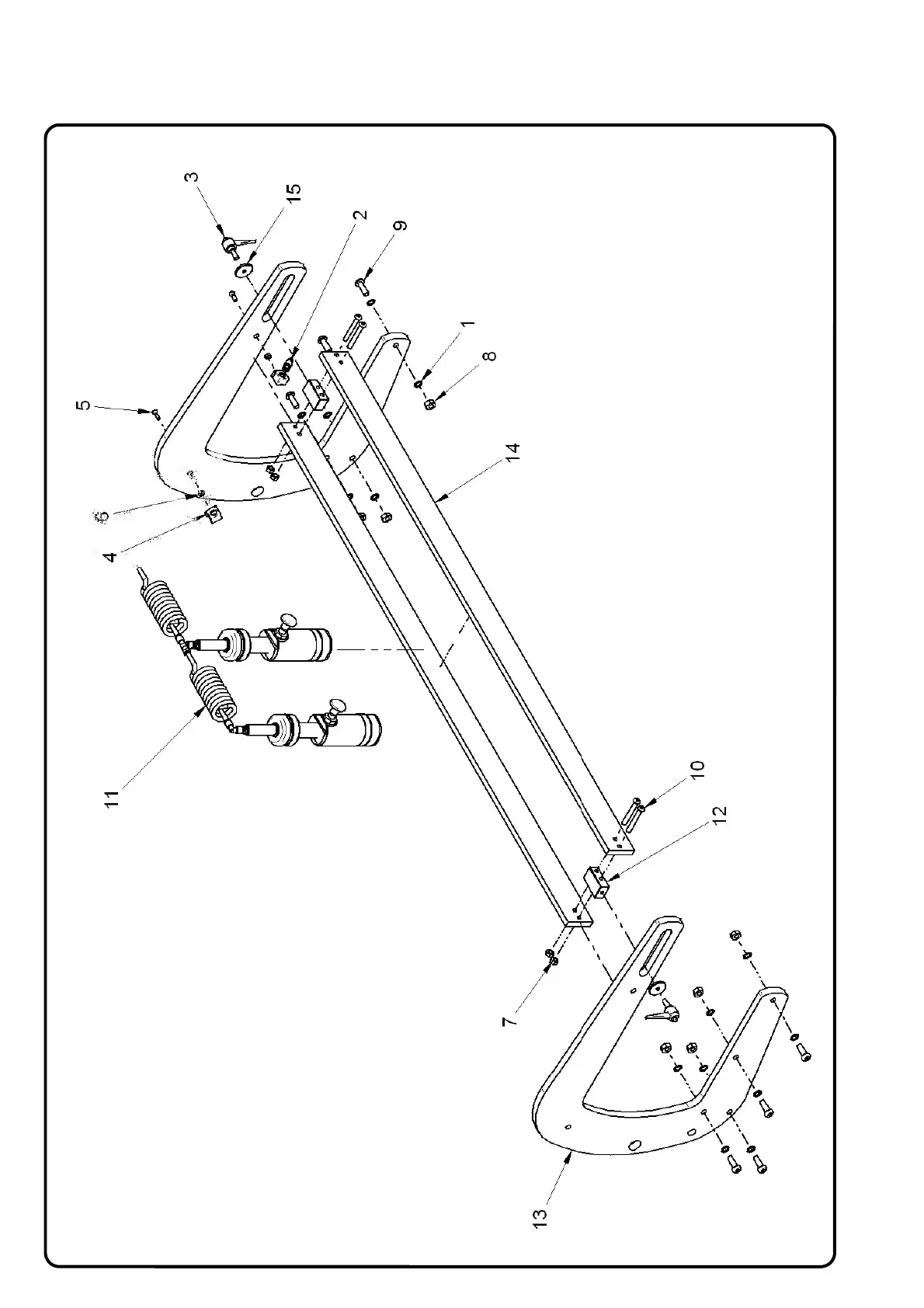
26300500 CLAMPING UNIT
SHEET 6