EasyManua.ls Logo

Maggi BORING SYSTEM 35 - Page 63

Default Icon
66 pages
Print Icon
To Next Page IconTo Next Page
To Next Page IconTo Next Page
To Previous Page IconTo Previous Page
To Previous Page IconTo Previous Page
Loading...
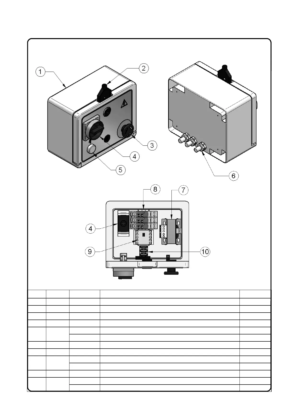
POS. SYMBOL CODE
PART NAME QUANTITY
1
-
00005900 ELECTRICAL BOX GEWISS IP56 200X255X130 1
2
-
00006900 ELECTRICAL BOX KEY GEWISS (46522) 1
3 S1 00005070 EMERGENCY PUSH BUTTON 1
4 I6 00005091 COMPLETE MAIN SWITCH 1
5 H1
00005075 LAMP HOLDER 1
00005076 LAMP 24V AC 2W 1
6
-
# CABLE GLAND PG 13,5 3
7 T1 00005034 TRANSF. VA30 0-230-400-415-440 0-24 1
8 F1-F2-F3
00005077 TRIPOLAR FUSE HOLDER 10X38 32A 1
00005078 FUSE 10X38 20A 3
9 K1 00005029 MINI CONTACTOR 24V 50-60HZ 1
10 F4-F5-F6
00005079 FUSE HOLDER 5X20 3
00005074 FUSE 5X20 2A 3
ELECTRIC SYSTEM
SHEET 15
ELECTRIC SYSTEM
SHEET 15