EasyManua.ls Logo

Malaguti F18 WARRIOR - Page 96

Malaguti F18 WARRIOR
383 pages
Print Icon
To Next Page IconTo Next Page
To Next Page IconTo Next Page
To Previous Page IconTo Previous Page
To Previous Page IconTo Previous Page
Loading...
52
F18 125/150F18 125/150
F18 125/150F18 125/150
F18 125/150
05/01
F. 73
VV
VV
V
Cs - Nm
VV
VV
V
32 ± 20%
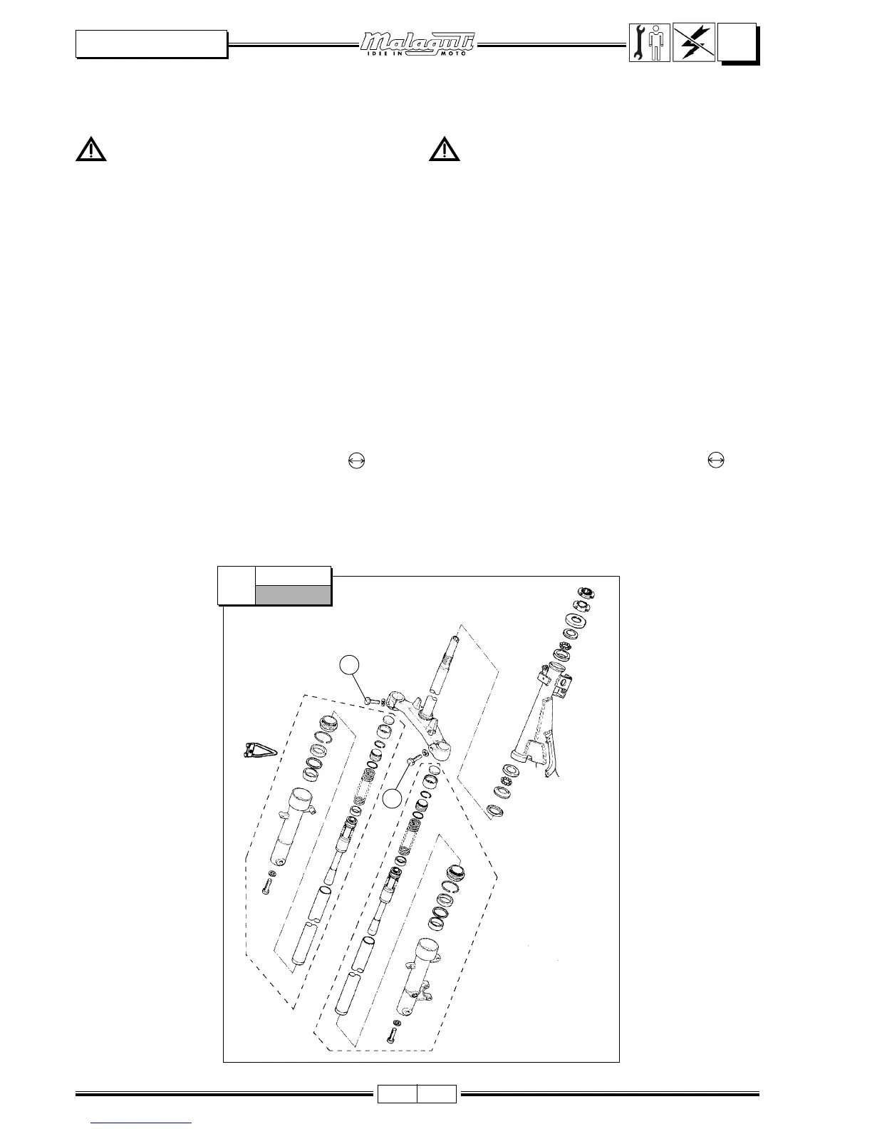
FORCELLAFORCELLA
FORCELLAFORCELLA
FORCELLA
RIMOZIONE GRUPPORIMOZIONE GRUPPO
RIMOZIONE GRUPPORIMOZIONE GRUPPO
RIMOZIONE GRUPPO
STELO-PORTARUOTASTELO-PORTARUOTA
STELO-PORTARUOTASTELO-PORTARUOTA
STELO-PORTARUOTA
Accertarsi dell’ effettiva stabilità del motoveico-Accertarsi dell’ effettiva stabilità del motoveico-
Accertarsi dell’ effettiva stabilità del motoveico-Accertarsi dell’ effettiva stabilità del motoveico-
Accertarsi dell’ effettiva stabilità del motoveico-
lo; eventualmente, sistemare un supporto ade-lo; eventualmente, sistemare un supporto ade-
lo; eventualmente, sistemare un supporto ade-lo; eventualmente, sistemare un supporto ade-
lo; eventualmente, sistemare un supporto ade-
guato sotto il motore. La ruota anteriore dovrà sporge-guato sotto il motore. La ruota anteriore dovrà sporge-
guato sotto il motore. La ruota anteriore dovrà sporge-guato sotto il motore. La ruota anteriore dovrà sporge-
guato sotto il motore. La ruota anteriore dovrà sporge-
re oltre il bordo della pedana elevatrice.re oltre il bordo della pedana elevatrice.
re oltre il bordo della pedana elevatrice.re oltre il bordo della pedana elevatrice.
re oltre il bordo della pedana elevatrice.
Nota: Nota:
Nota: Nota:
Nota: per rimuovere uno o entrambi gli steli della forcella,
completi di portaruota, è necessario rimuovere
preventivamente:
scudo
coprimanubrio (anteriore/posteriore)
rinvio contachilometri
ruota anteriore
parafango anteriore
pinza del freno (se si dovrà rimuovere lo stelo sx).
GABELGABEL
GABELGABEL
GABEL
ABMONTIEREN DER GRUPPEABMONTIEREN DER GRUPPE
ABMONTIEREN DER GRUPPEABMONTIEREN DER GRUPPE
ABMONTIEREN DER GRUPPE
SCHAFT / RADAUFHÄNGUNGSCHAFT / RADAUFHÄNGUNG
SCHAFT / RADAUFHÄNGUNGSCHAFT / RADAUFHÄNGUNG
SCHAFT / RADAUFHÄNGUNG
Die perfekte Stabilität des Kraftrades sicherstellen.Die perfekte Stabilität des Kraftrades sicherstellen.
Die perfekte Stabilität des Kraftrades sicherstellen.Die perfekte Stabilität des Kraftrades sicherstellen.
Die perfekte Stabilität des Kraftrades sicherstellen.
Stützen Sie das Fahrzeug gegebenenfalls zusätzlichStützen Sie das Fahrzeug gegebenenfalls zusätzlich
Stützen Sie das Fahrzeug gegebenenfalls zusätzlichStützen Sie das Fahrzeug gegebenenfalls zusätzlich
Stützen Sie das Fahrzeug gegebenenfalls zusätzlich
unter dem Motor ab. Das Vorderrad muß über den Rand derunter dem Motor ab. Das Vorderrad muß über den Rand der
unter dem Motor ab. Das Vorderrad muß über den Rand derunter dem Motor ab. Das Vorderrad muß über den Rand der
unter dem Motor ab. Das Vorderrad muß über den Rand der
Hebeplattform herausragen.Hebeplattform herausragen.
Hebeplattform herausragen.Hebeplattform herausragen.
Hebeplattform herausragen.
Hinweis: Hinweis:
Hinweis: Hinweis:
Hinweis: Für das Abmontieren eines oder beider Schäfte
der Gabel einschließlich Radaufhängung müssen zunächst
entfernt werden:
Frontschutzplatte
Lenkerverkleidung (vorne/hinten)
Kilometerzählerzwischengetriebe
Vorderrad
Vorderschutzblech
Bremszange (falls der linke Schaft ausgebaut werden
muß).
Allentare la vite (a testa esagonale M10) (V) .
Sollevare lo stelo di qualche millimetro.
Con l’ausilio di un cacciavite, rimuovere l’anello elastico
montato nella parte superiore dello stelo e sfilare verso il
basso il gruppo stelo-portaruota.
Lösen Sie die Schraube (Sechskant M10) (V) .
Heben Sie den Schaft einige Millimeter an.
Nehmen Sie einen Schrauben-zieher zu Hilfe und
entfernen Sie den im oberen Teil des Schaftes sitzenden
Sprengring. Ziehen Sie nunmehr die Gruppe Schaft /
Radaufhängung nach unten ab.
VV
VV
V
CC
CC
C

Table of Contents

Related product manuals