EasyManua.ls Logo

Marantz NR1508 - Page 73

Marantz NR1508
146 pages
Print Icon
To Next Page IconTo Next Page
To Next Page IconTo Next Page
To Previous Page IconTo Previous Page
To Previous Page IconTo Previous Page
Loading...
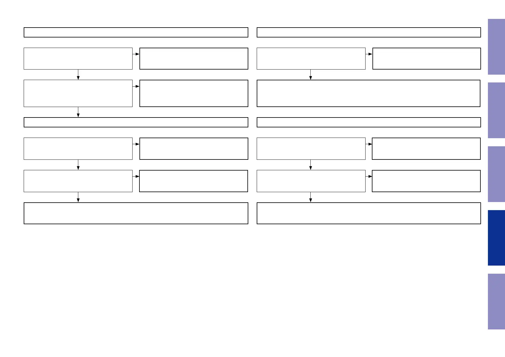
Check the USB device being used
Is the USB device supported by this unit?
Is a USB hub being used?
This unit supports devices in the FAT16- and
FAT32-formatted mass storage class, MTP-com-
patible devices and iPod devices (except for some
models).
Do not use a USB hub.
Checking the unit
Can a voltage (5V) be conrmed between [CP4402
: 1 - 4pin] (USB Connector) on FRONT PCB?
The USB signal circuit between Network Module and [CP4402] of the FRONT PCB are faulty.
Are [N1021] of the DIGITAL PCB and [CN4401] of
the FRONT PCB correctly connected?
The circuit around [U1006] of the DIGITAL PCB is
faulty.
Connect the connectors correctly.
5.3. Cannot recognize the connected USB device
Checking the unit (If no picture is output)
• Check the VIDEO circuit.
Are digital video signals(LEGOPCK, LEGOVS,
LEGOHS, LEGODE, LEGOVD0-LEGOVD23) output
from Network Module to [U1024 : MN864787]?
Checking the unit:(If no sound is output)
Check the [U1021 : DSP] AUDIO circuit and the circuits thereafter.
Are the I2S signal output to [U1008 : 7, 11, 13,
14pin] of the DIGITAL PCB ?
Are audio signal output to DSP1INF/FL[R1995] on
DIGITAL PCB.
5.4. No picture or sound is output
The circuit around Network Module, [U1024 :
MN864787] is faulty.
Network Module is faulty.
The circuit around [U1041 : A.PLD] is faulty.
NO
NO
NO
YES
YES
YES
NO
YES
YES
YES
YES
NO
NO
NO
73
Caution in
servicing
Electrical Mechanical Repair Information Updating

Other manuals for Marantz NR1508

Related product manuals