EasyManua.ls Logo

Marantz SR5011 - Page 81

Marantz SR5011
204 pages
Print Icon
To Next Page IconTo Next Page
To Next Page IconTo Next Page
To Previous Page IconTo Previous Page
To Previous Page IconTo Previous Page
Loading...
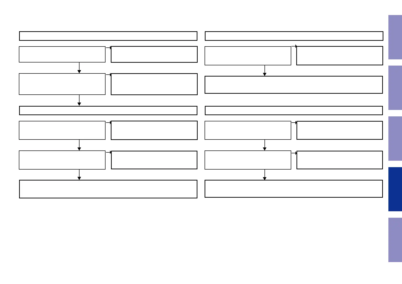
Check the USB device being used
YES
Is the USB device supported by this unit?
Is a USB hub being used?
This unit supports devices in the FAT16- and
FAT32-formatted mass storage class, MTP-
compatible devices and iPod devices (except for
some models).
Do not use a USB hub.
NO
Checking the unit
YES
YES
Can a voltage (5V) be conî™°rmed between pin
1 and pin 4 of JK4400 (USB Connector) on USB
PCB?
The USB signal circuit between CY920 and JK4400 of the USB PCB are faulty.
Are N1008 of the HDMI PCB and CN4402 of the
USB PCB correctly connected?
The circuit around U1006 of the HDMI PCB is
faulty.
Connect the connectors correctly.
5.3. Cannot recognize the connected USB device
YES
NO
NO
NO
Checking the unit (If no picture is output)
YES
• Check the VIDEO circuit.
Are digital video signals(920PCK, 920VD0
- 920VD7) output from CY920 to U1026
(ADV8003)?
Checking the unit:(If no sound is output)
YES
YES
Check the U1073(DSP) AUDIO circuit and the circuits thereafter.
Are the I2S signal output to pins 26, 28, 30 and
34 of the U1008 HDMI PCB ?
(The 30, 32, 34pin in the case of DSD)
Are audio signal output to pin 64 of U1041
(A.PLD) on HDMI PCB.
5.4. No picture or sound is output
The circuit around CY920, U1026(ADV8003) is
faulty.
The CY920 is faulty.
The circuit around U1041(A.PLD) is faulty.
NO
NO
NO
81
Caution in
servicing
Electrical Mechanical Repair Information Updating

Other manuals for Marantz SR5011

Related product manuals