EasyManua.ls Logo

Mazda CX-5 2015 - Light Bulbs; With Halogen Headlights; With Xenon Fusion Headlights

Mazda CX-5 2015
533 pages
Print Icon
To Next Page IconTo Next Page
To Next Page IconTo Next Page
To Previous Page IconTo Previous Page
To Previous Page IconTo Previous Page
Loading...
Black plate (400,1)
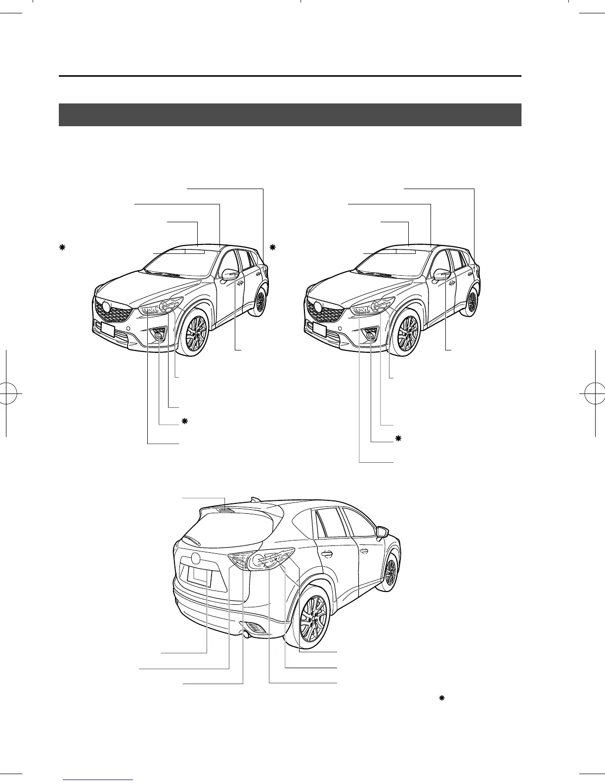
Light Bulbs
With xenon fusion headlights With halogen headlights
Rear map lights
Overhead light (Front)/
Map lights
Luggage compartment light
Daytime running lights
Rear side-marker lights
Rear turn signal lights
Brake lights/TaillightsTaillights (Liftgate side)
Reverse lights
License plate lights
Headlights (Low/High beam)
High-mount brake light
Side turn
signal lights
Front turn signal lights/Parking lights
(Front side-marker lights)
Fog lights
Headlights (High beam)/
Day time running lights
Headlights (Low beam)
Front turn signal lights/
Parking lights (Front side-
marker lights)
Fog lights
Vanity mirror lights
Rear map lights
Overhead light (Front)/
Map lights
Luggage compartment light
Vanity mirror lights
Some models.
Side turn
signal lights
6-40
Maintenance and Care
Owner Maintenance
CX-5_8DR3-EC-14A_Edition3 Page400
Monday, June 30 2014 3:40 PM
Form No.8DR3-EC-14A

Table of Contents