EasyManua.ls Logo

Meec tools 740-034 - Strømbryter Motor; Smart Innstilling; Automatsikring for LikestrøM

Meec tools 740-034
Print Icon
To Next Page IconTo Next Page
To Next Page IconTo Next Page
To Previous Page IconTo Previous Page
To Previous Page IconTo Previous Page
Loading...
NORSK
18
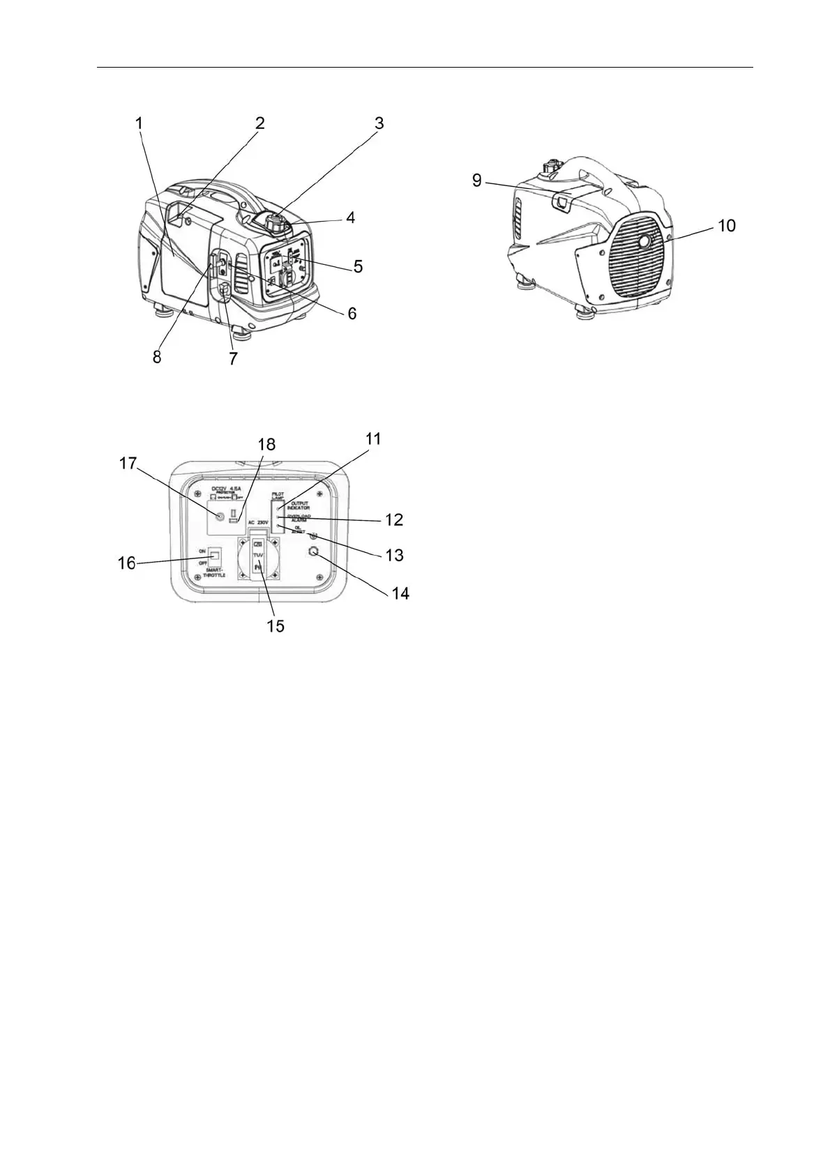
1. Beskyttelseshette
2. Choke
3. Luftelokk
4. Tanklokk
5. Betjeningspanel
6. Motorstrømbryter
7. Drivstoffkran
8. Starthåndtak
9. Skruedeksel tennplugg
10. Lyddemperkåpe
11. Strømindikator
12. Overbelastningsindikator
13. Oljenivåindikator
14. Jorduttak
15. Vekselstrømuttak
16. Smart innstilling
17. Automatsikring for likestrøm
18. Likestrømsuttak
Strømbryter motor
ON –Motoren kan startes
OFF – Motoren slås av
Smart innstilling
ON – Maksimal drivstofføkonomi og lavest mulig lyd.
OFF - smart innstilling er slått av og kobles ikke inn uansett belastning. Smart innstilling må være
deaktivert når det benyttes apparater som krever mye strøm.
Automatsikring for likestrøm
Automatsikringen slår av ladestrømmen i 12 V-uttaket ved overbelastning. Kontroller belastningen på det
tilkoblede utstyret hvis automatsikringen aktiveres.

Table of Contents