EasyManua.ls Logo

Meec tools 740-034 - Strömbrytare Motor; Smart Läge; Automatsäkring För LikströM

Meec tools 740-034
Print Icon
To Next Page IconTo Next Page
To Next Page IconTo Next Page
To Previous Page IconTo Previous Page
To Previous Page IconTo Previous Page
Loading...
SVENSKA
9
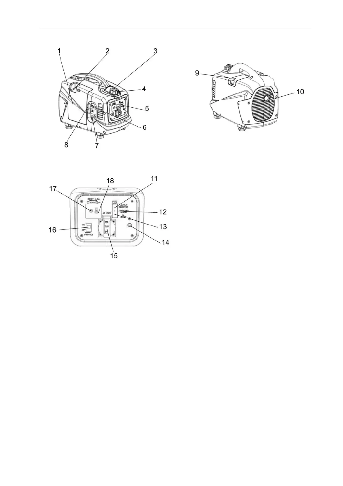
1. Täckkåpa
2. Choke
3. Luftarlock
4. Tanklock
5. Manöverpanel
6. Motorströmbrytare
7. Bränslekran
8. Starthandtag
9. Täcklock tändstift
10. Ljuddämparkåpa
11. Strömindikator
12. Överbelastningsindikator
13. Oljenivåindikator
14. Jordanslutning
15. Växelströmsuttag
16. Smart läge
17. Automatsäkring för likström
18. Likströmsuttag
Strömbrytare motor
ON – Motorn kan startas
OFF – Motorn stängs av
Smart läge
ON – Maximal bränsleekonomi och lägsta möjliga ljud.
OFF - smart läge är avstängt och griper inte in oavsett belastning. När apparater som kräver mycket
ström används ska smart läge vara inaktiverat.
Automatsäkring för likström
Automatsäkringen stänger av laddströmmen i 12 V-uttaget vid överbelastning. Kontrollera den anslutna
utrustningens belastning om automatsäkringen aktiveras.

Table of Contents