EasyManua.ls Logo

Meec tools 740-034 - Przełącznik Silnika; Tryb Inteligentny; Bezpiecznik Automatyczny Prądu Stałego

Meec tools 740-034
Print Icon
To Next Page IconTo Next Page
To Next Page IconTo Next Page
To Previous Page IconTo Previous Page
To Previous Page IconTo Previous Page
Loading...
POLSKI
28
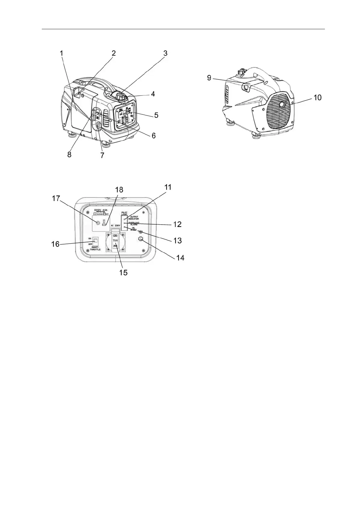
1. Pokrywa obudowy
2. Ssanie
3. Korek odpowietrzający
4. Korek wlewu paliwa
5. Panel sterowania
6. Przełącznik silnika
7. Kurek paliwowy
8. Rączka rozrusznika
9. Pokrywka świecy zapłonowej
10. Obudowa tłumika
11. Wskaźnik zasilania
12. Wskaźnik przeciążenia
13. Wskaźnik poziomu oleju
14. Złącze uziemienia
15. Gniazdo prądu zmiennego
16. Tryb inteligentny
17. Bezpiecznik automatyczny prądu stałego
18. Gniazdko prądu stałego
Przełącznik silnika
ON – Silnik może zostać uruchomiony
OFF – Wyłączanie silnika
Tryb inteligentny
ON – Maksymalna oszczędność paliwa i możliwe najniższy poziom hałasu
OFF – tryb inteligentny jest wyłączony i nie uaktywnia się bez względu na obciążenie. Gdy używane są
urządzenia wymagające dużej ilości energii, tryb inteligentny powinien być wyłączony.
Bezpiecznik automatyczny prądu stałego
Bezpiecznik automatyczny odcina prąd w gniazdku 12 V przy przeciążeniu. Po wyzwoleniu bezpiecznika
automatycznego sprawdź obciążenie podłączonego sprzętu.

Table of Contents