EasyManua.ls Logo

Midea E60MEW0A09 - Product Dimensions; T-type Hood Dimensions; Arc Glass Hood Dimensions

Midea E60MEW0A09
26 pages
Print Icon
To Next Page IconTo Next Page
To Next Page IconTo Next Page
To Previous Page IconTo Previous Page
To Previous Page IconTo Previous Page
Loading...
- - 2
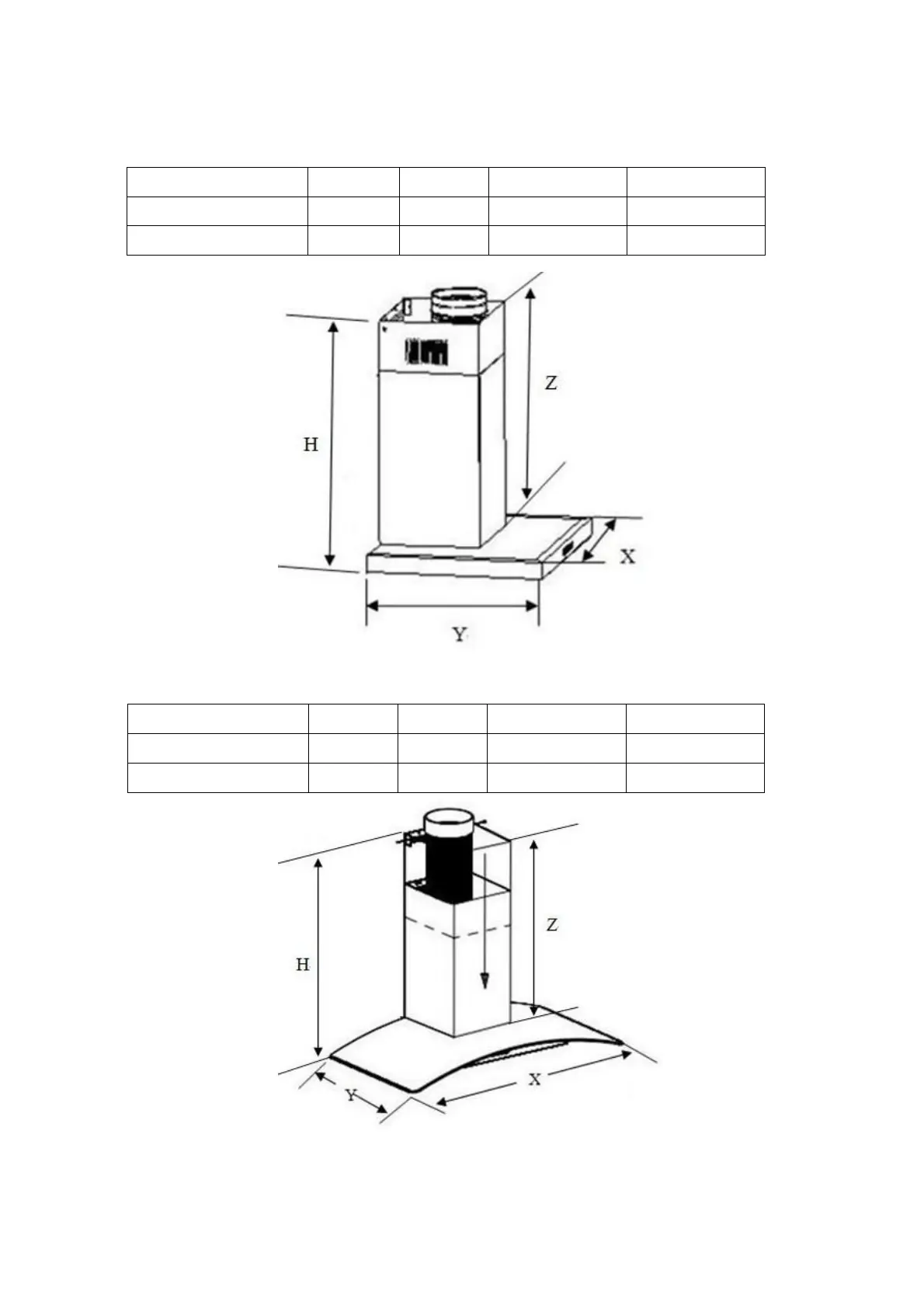
2.2 T型烟机尺寸 Dimension of T-type Range Hood
2.3 弧玻型烟机 Dimension of Arc Glass Range Hood
注:尺寸数据仅供参考。
Note: Dimension data is only for reference.
MODEL
X
Y
Z
H
E60AEW1M19
600mm
500mm
400~780mm
440~820mm
E90AEW1M19
900mm
500mm
400~780mm
440~820mm
MODEL
X
Y
Z
H
E60AEW1V33
600mm
500mm
390~770mm
500~880mm
E90AEW1V33
900mm
500mm
390~770mm
500~880mm

Related product manuals