EasyManua.ls Logo

Midea MLCAC-UTSM-2010-10 - Field Wiring

Midea MLCAC-UTSM-2010-10
95 pages
Print Icon
To Next Page IconTo Next Page
To Next Page IconTo Next Page
To Previous Page IconTo Previous Page
To Previous Page IconTo Previous Page
Loading...
Field Wiring MLCAC-UTSM-2010-10
18 Four-way Cassette Type
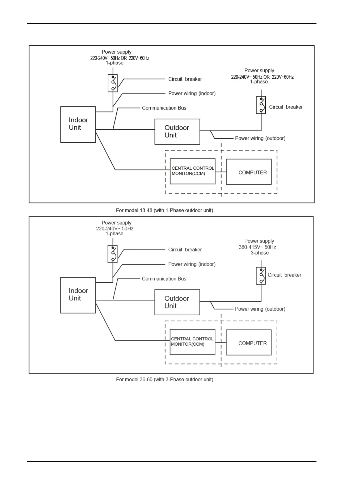
10. Field Wiring
Wiring chart

Related product manuals