EasyManua.ls Logo

Midea MLCAC-UTSM-2010-10 - Field Wiring

Midea MLCAC-UTSM-2010-10
95 pages
Print Icon
To Next Page IconTo Next Page
To Next Page IconTo Next Page
To Previous Page IconTo Previous Page
To Previous Page IconTo Previous Page
Loading...
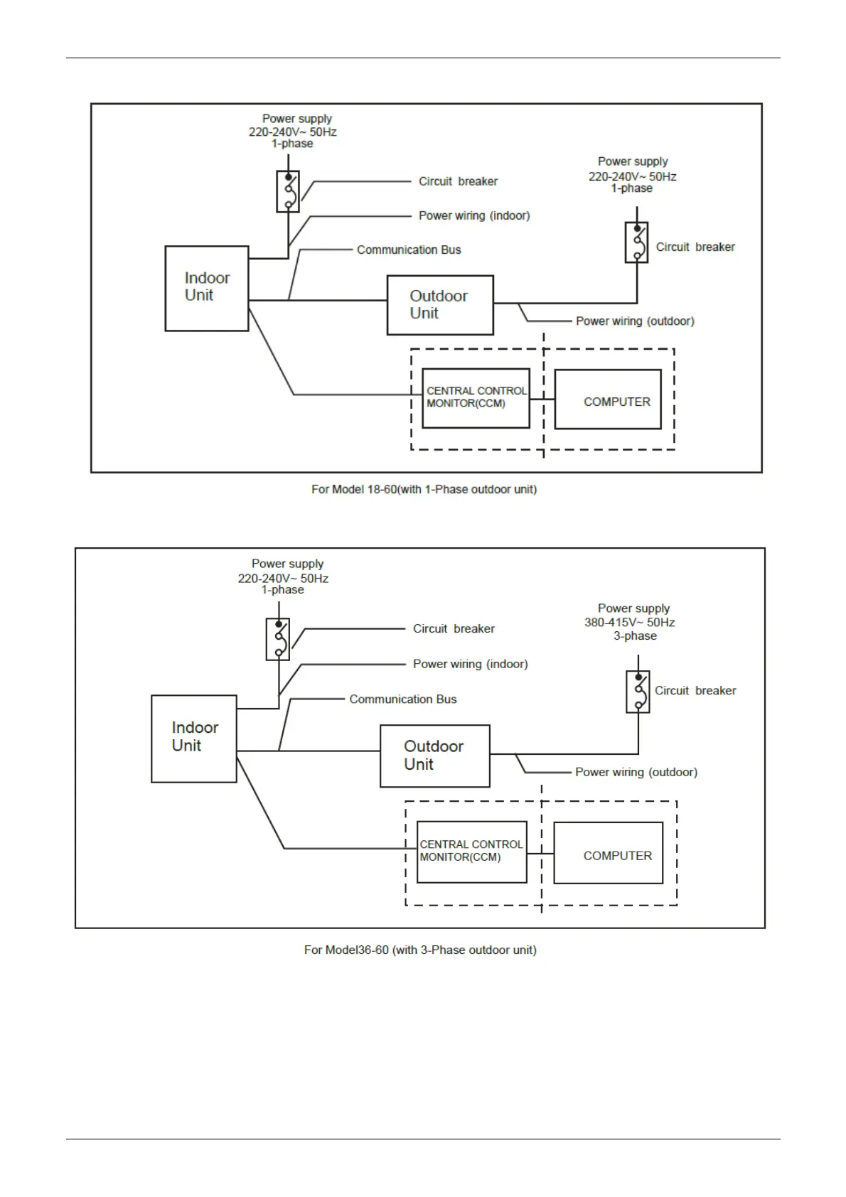
MLCAC-UTSM-2010-10 Field Wiring
Duct Type 29
10. Field Wiring

Related product manuals