EasyManua.ls Logo

Midea MLCAC-UTSM-2010-10 - Service Space

Midea MLCAC-UTSM-2010-10
95 pages
Print Icon
To Next Page IconTo Next Page
To Next Page IconTo Next Page
To Previous Page IconTo Previous Page
To Previous Page IconTo Previous Page
Loading...
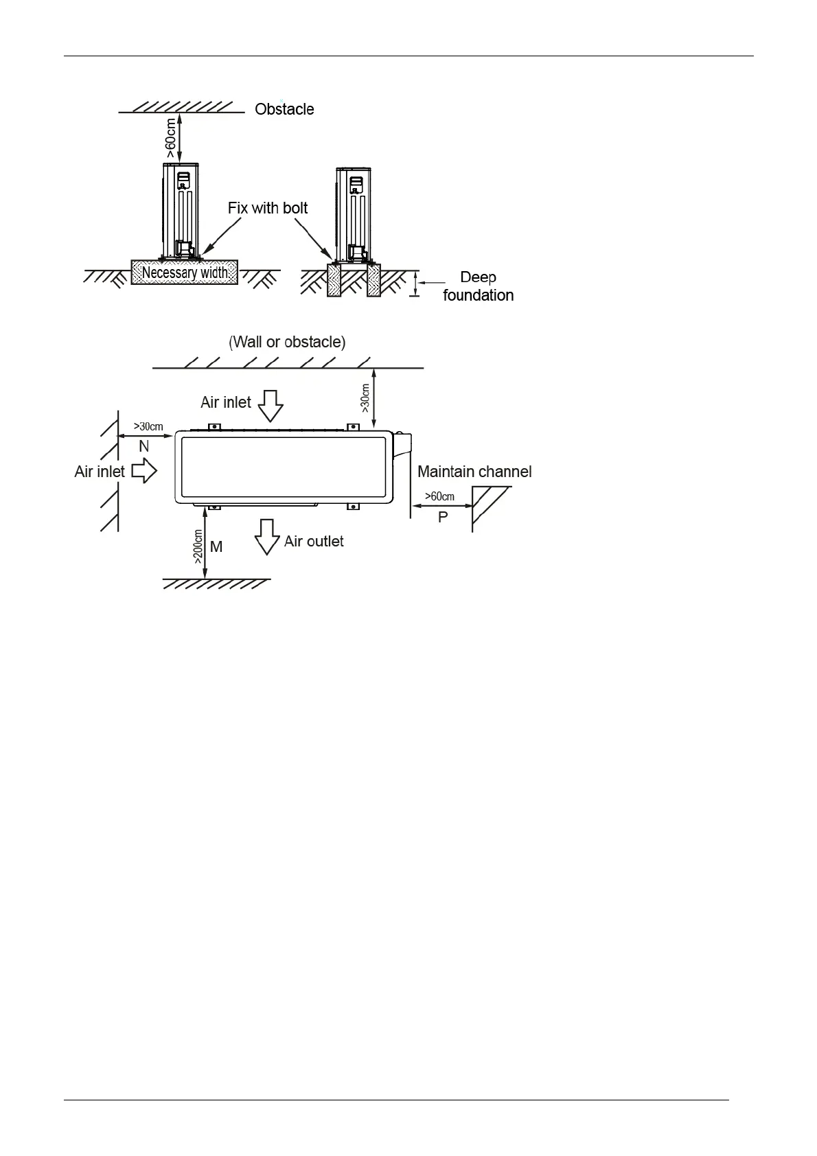
MLCAC-UTSM-2010-10 Service Space
Outdoor Units 69
2. Service Space

Related product manuals