EasyManua.ls Logo

Midea MOUA-96HD1N1-R - Page 62

Midea MOUA-96HD1N1-R
87 pages
To Next Page IconTo Next Page
To Next Page IconTo Next Page
To Previous Page IconTo Previous Page
To Previous Page IconTo Previous Page
Loading...
R410A Full DC Inverter Split Duct Type Technical Manual MCAC-UTSM-201503
61
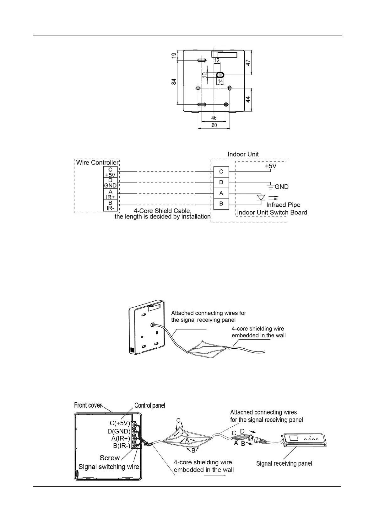
Rear view:
Wiring principle sketch:
Wiring figure:
Connect two terminals of embedded 4-core shielding wire with the switching wires of wired
controller and signal receiving board. Make sure the sequence of 4 terminals (A, B, C and D)
should correspond to the wire sequence of signal switching wires (A, B, C and D).
If the embedded 4-core shielding wire cannot go through the wired controller, it can use
signal switching for connection; make sure the wires are reliable and firm.

Other manuals for Midea MOUA-96HD1N1-R

Related product manuals