EasyManua.ls Logo

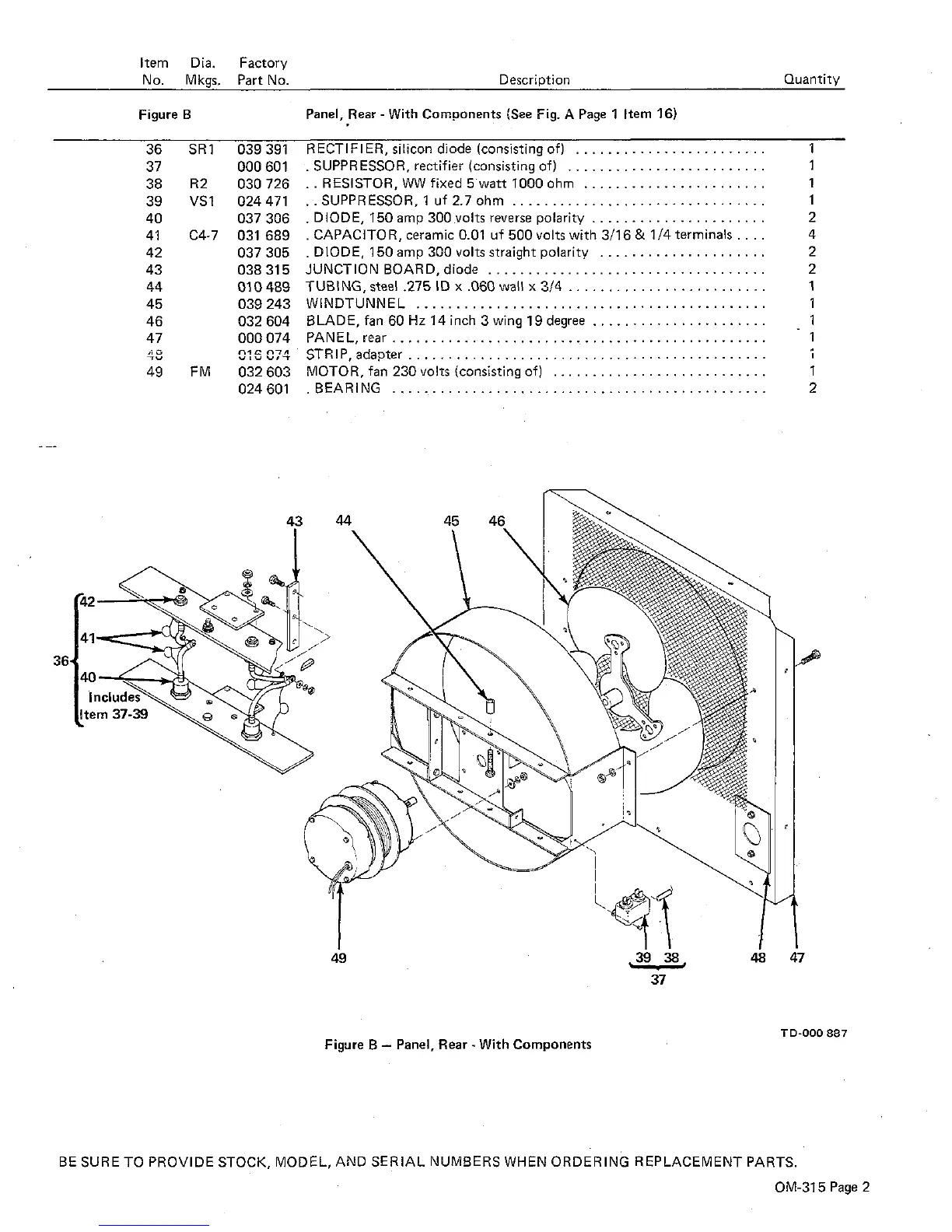
Miller DIALARC HF - Rear Panel with Components

Miller DIALARC HF
34 pages
Print Icon
To Next Page IconTo Next Page
To Next Page IconTo Next Page
To Previous Page IconTo Previous Page
To Previous Page IconTo Previous Page
Loading...

Related product manuals