EasyManua.ls Logo

Mitsubishi Electric A173UHCPU - Page 229

Mitsubishi Electric A173UHCPU
389 pages
To Next Page IconTo Next Page
To Next Page IconTo Next Page
To Previous Page IconTo Previous Page
To Previous Page IconTo Previous Page
Loading...
7. POSITIONING CONTROL
7 82
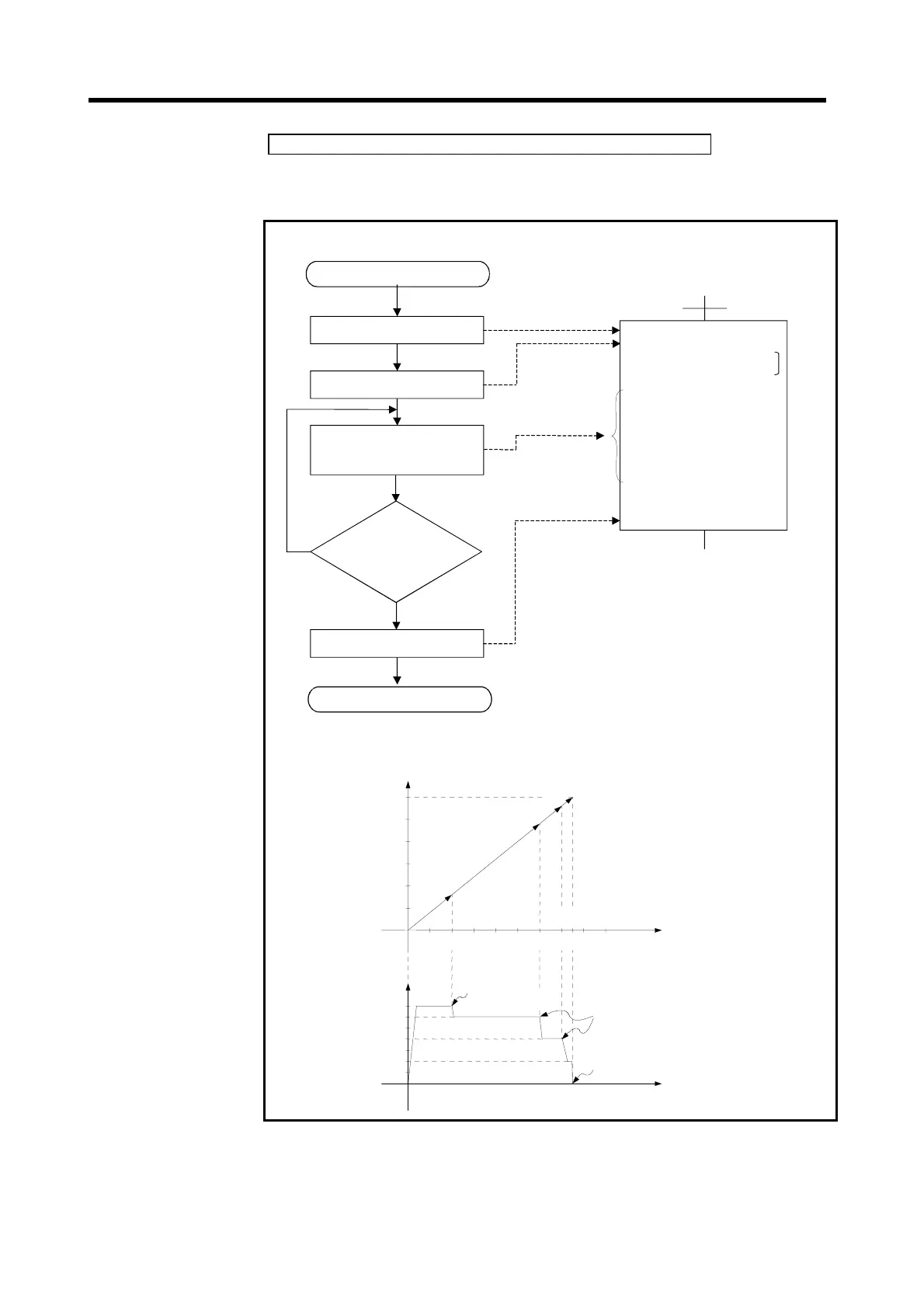
Operation timing and the procedure to write servo programs
The method to write servo programs for speed-switching control and the operation
timing are shown in below.
<K
VSTART
ABS-2
Axis 4, 75000 …P1
Axis 3, 60000
Speed 2000
VABS
Axis 4, 20000 …P2
Speed 7000
VABS
Axis 4, 60000 …P3
Speed 6000
VABS
Axis 4, 70000 …P4
Speed 4000
VEND
Start
Start speed-switching
control
Designate end address
Designate speed-switching
points
All speed-switching
points designated?
End speed-switching control
End
YES
NO
Axis 4 positioning direction
0
Axis 3 positioning direction
60000
800006000020000
70000
t
0
V
5000
Speed-switching
point(P2)
Speed-switching point
Stop(P1)
P2
P3
P4
P1
[Servo program]
[Operation timing]
101>

Table of Contents

Other manuals for Mitsubishi Electric A173UHCPU

Related product manuals